授权公布号:CN209006870U
软包装电池极耳超声波焊接设备及其焊头
有效
申请
2018-09-19
申请公布
1970-01-01
授权
2019-06-21
预估到期
2028-09-19
| 申请号 | CN201821539291.1 |
| 申请日 | 2018-09-19 |
| 授权公布号 | CN209006870U |
| 授权公告日 | 2019-06-21 |
| 分类号 | B23K20/10;B23K20/26 |
| 分类 | 机床;不包含在其他类目中的金属加工; |
| 申请人名称 | 珠海市新维焊接器材有限公司 |
| 申请人地址 | 广东省珠海市金湾区三灶镇机场西路1476号 |
专利法律状态
2019-06-21
授权
状态信息
授权
摘要
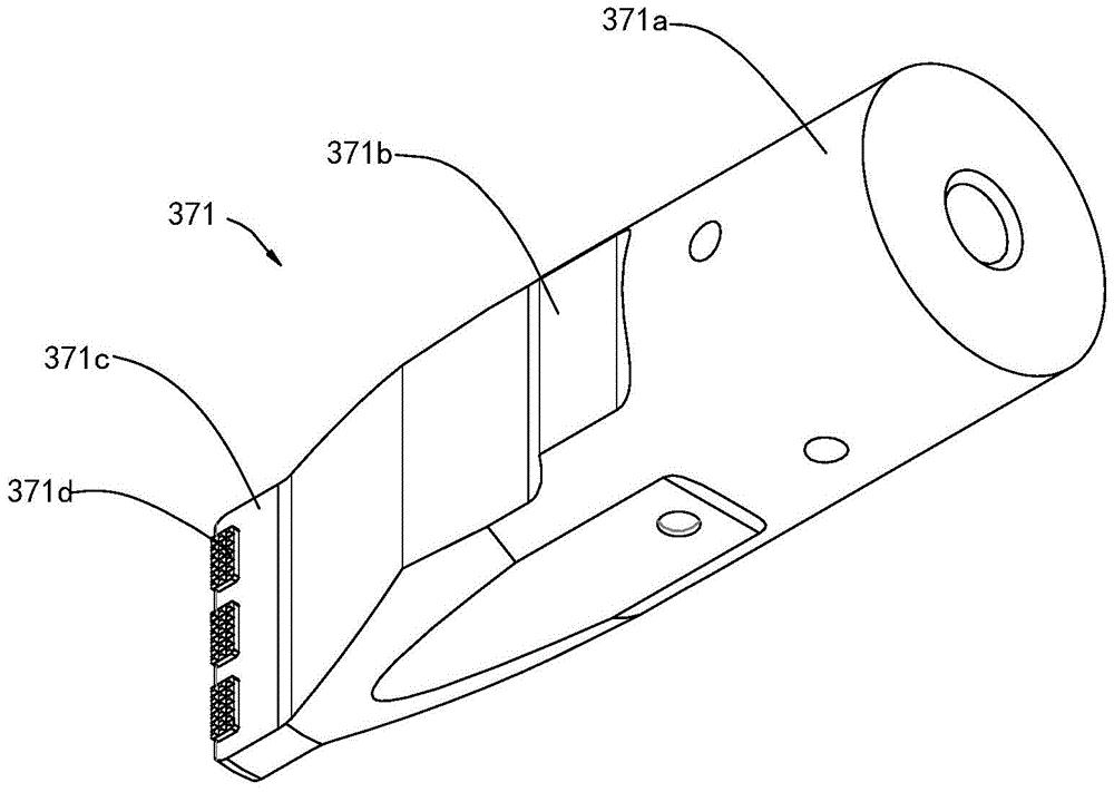
本实用新型公开了一种软包装电池极耳超声波焊接设备及其焊头,软包装电池极耳超声波焊接设备的焊头包括沿超声波传输方向依次连接的连接部、中间部以及焊接部,所述焊接部为扁平状,在所述焊接部厚度方向上的两侧面上设置有至少一个焊点。本实用新型提供的焊头设计为扁平的特殊焊头以适应软包电池极耳间狭小的空间,从而使得对软包装电池的极耳和汇流条采用超声波进行焊接,代替传统的激光焊接和铆接,可有效降低接触电阻,增加导电面积,降低制造成本。


