授权公布号:CN220674183U
散热盒及其电气设备
有效
申请
2023-03-28
申请公布
1970-01-01
授权
2024-03-26
预估到期
2033-03-28
| 申请号 | CN202320662085.4 |
| 申请日 | 2023-03-28 |
| 授权公布号 | CN220674183U |
| 授权公告日 | 2024-03-26 |
| 分类号 | H05K7/20 |
| 分类 | 其他类目不包含的电技术; |
| 申请人名称 | 深圳市正浩创新科技股份有限公司 |
| 申请人地址 | 广东省深圳市宝安区福海街道展城社区福园一路润恒工业厂区1#厂房401 |
专利法律状态
2024-03-26
授权
状态信息
授权
摘要
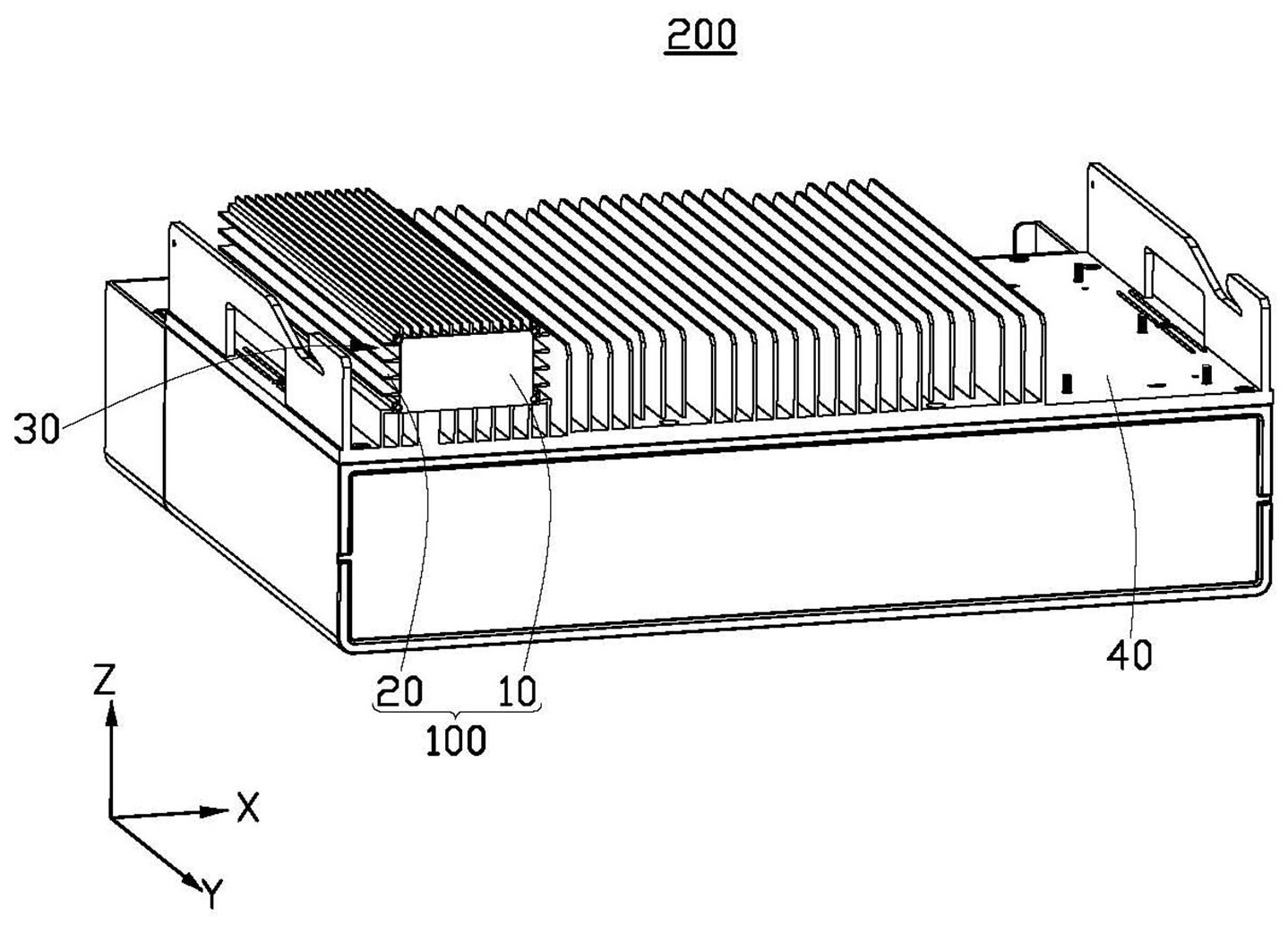
本申请提供一种散热盒,应用于电气设备中,电气设备包括发热器件和基板,基板供散热盒安装,散热盒包括盒体和多个第一散热翅片,盒体开设有腔体,腔体沿第一方向至少贯穿盒体的一端,供发热器件安装;多个第一散热翅片环绕第一方向设置于盒体的外周壁,相邻两个第一散热翅片之间形成散热通道,盒体的至少一侧的第一散热翅片用于与基板连接。本申请还提供采用上述散热盒的电气设备,采用该散热盒能够提高对发热器件的散热效率,且不会占据电气设备过多的内部空间。


