授权公布号:CN220509883U
离网供电设备和开关装置
有效
申请
2023-07-25
申请公布
1970-01-01
授权
2024-02-20
预估到期
2033-07-25
| 申请号 | CN202321972096.9 |
| 申请日 | 2023-07-25 |
| 授权公布号 | CN220509883U |
| 授权公告日 | 2024-02-20 |
| 分类号 | H01H9/26 |
| 分类 | 基本电气元件; |
| 申请人名称 | 深圳市正浩创新科技股份有限公司 |
| 申请人地址 | 广东省深圳市宝安区福海街道展城社区福园一路润恒工业厂区1#厂房401 |
专利法律状态
2024-02-20
授权
状态信息
授权
摘要
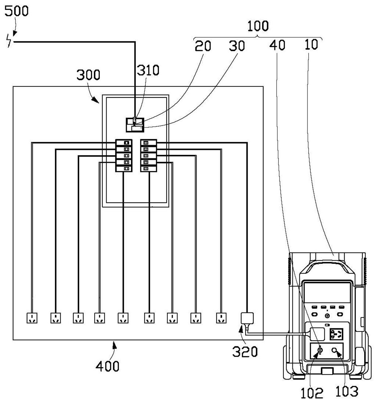
本申请提供了一种离网供电设备和开关装置。离网供电设备用于连接用电侧插接母端。开关装置引用于用电侧插接母端。用电侧插接母端设有具有第一键位的第一开关。第一开关处于第一键位时,用电侧插接母端与外电网连通。离网供电设备包括储能电源、第一插入件和锁件。储能电源被配置为能够与用电侧插接母端电连接。锁件被构造为设于第一开关所在处。锁件设有第一锁件锁孔。第一锁件锁孔被构造为允许第一插入件插设。第一插入件被配置为在插设于第一锁件锁孔时,第一插入件和锁件构成的组合体的至少部分处于第一开关切换至第一键位的路径上。本申请提供的一种离网供电设备和开关装置,通过实体结构限制用电侧插接母端与外电网的连通。


