授权公布号:CN217486125U
一种高强度封闭式母线槽
有效
申请
2022-03-23
申请公布
1970-01-01
授权
2022-09-23
预估到期
2032-03-23
| 申请号 | CN202220633362.4 |
| 申请日 | 2022-03-23 |
| 授权公布号 | CN217486125U |
| 授权公告日 | 2022-09-23 |
| 分类号 | H02G5/06;H02G3/30 |
| 分类 | 发电、变电或配电; |
| 申请人名称 | 江苏省中原通用机电有限公司 |
| 申请人地址 | 江苏省镇江市扬中市新坝镇南 |
专利法律状态
2022-09-23
授权
状态信息
授权
摘要
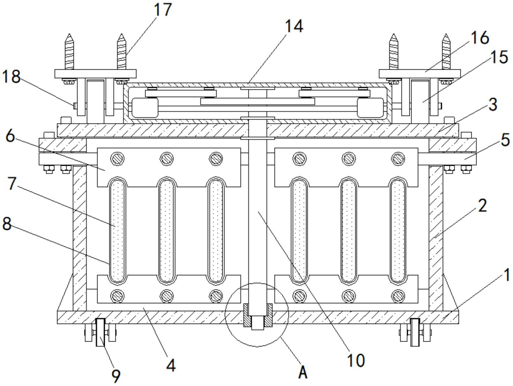
本实用新型公开了一种高强度封闭式母线槽,涉及母线槽技术领域,包括底板,所述底板的上表面固定连接有侧板,所述侧板的顶部通过螺栓固定安装有盖板,所述底板的上表面固定连接有下安装条,所述侧板的顶部通过螺栓固定安装有上安装条,所述下安装条的上表面与上安装条的下表面均固定安装有绝缘压块,本实用新型中,旋转锁头,锁头带动转轴转动,转轴通过摆动件带动摆动杆摆动,摆动杆推动滑块向两侧移动,滑块推动卡杆向外侧移动,卡杆插入连接块、安装座的通孔内,完成对全钢母线槽的固定安装,无需在安装时使用大量的螺栓进行固定,大大提高看工作效率。


