授权公布号:CN210219037U
一种可以减少撞击声传递的管廊支架
有效
申请
2019-07-17
申请公布
1970-01-01
授权
2020-03-31
预估到期
2029-07-17
| 申请号 | CN201921116417.9 |
| 申请日 | 2019-07-17 |
| 授权公布号 | CN210219037U |
| 授权公告日 | 2020-03-31 |
| 分类号 | F16L55/035;F16L3/08 |
| 分类 | 工程元件或部件;为产生和保持机器或设备的有效运行的一般措施;一般绝热; |
| 申请人名称 | 江苏省中原通用机电有限公司 |
| 申请人地址 | 江苏省镇江市扬中市新坝镇南 |
专利法律状态
2020-03-31
授权
状态信息
授权
摘要
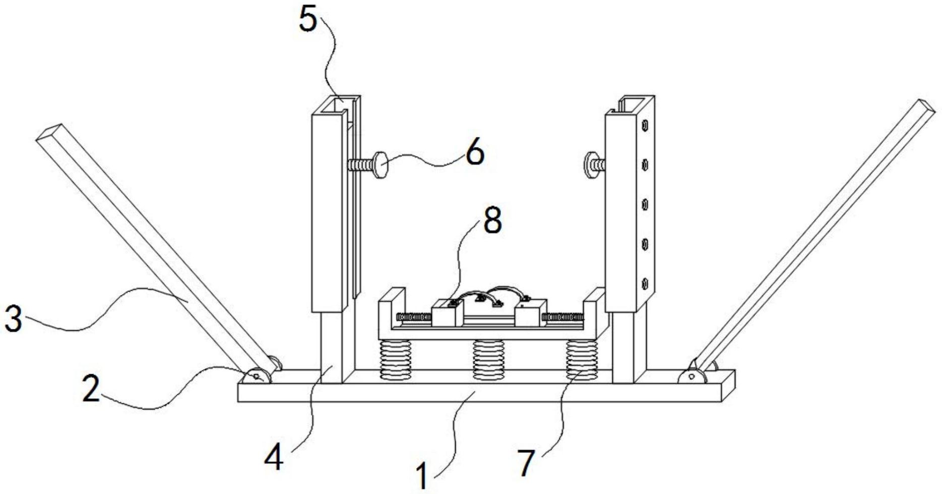
本实用新型提供了一种可以减少撞击声传递的管廊支架,属于管廊支架技术领域,包括有固定板、焊接板、旋转杆、竖杆、嵌入槽杆、胶头螺栓、第一弹簧和管道固定装置,固定板的上表面两端均焊接设置有两个焊接板。该装置通过设置有橡胶块和半弧形水管扣,通过在嵌入槽内嵌入设置有橡胶块,且橡胶块上通过螺栓设置半弧形水管扣,使得在安装时,通过将管道卡于两个橡胶块之间,在第二弹簧的弹力下,使得两个橡胶块紧贴于观管道外侧表面,且通过半弧形水管套接于管道的上方,通过螺栓固定住,使得管道与橡胶块和弧形水管扣相互之间连接均紧密,使得在管道撞击的过程中减少管道的震动,从而使得减少管道撞击发出声音。


