授权公布号:CN212837462U
一种高屏蔽平移防护门
有效
申请
2020-05-21
申请公布
1970-01-01
授权
2021-03-30
预估到期
2030-05-21
| 申请号 | CN202020862611.8 |
| 申请日 | 2020-05-21 |
| 授权公布号 | CN212837462U |
| 授权公告日 | 2021-03-30 |
| 分类号 | E06B3/46;E05C19/16;E06B5/18;E06B3/70 |
| 分类 | 一般门、窗、百叶窗或卷辊遮帘;梯子; |
| 申请人名称 | 山东摩恩科门业有限公司 |
| 申请人地址 | 山东省济南市历城区祝甸北路8号院 |
专利法律状态
2021-03-30
授权
状态信息
授权
摘要
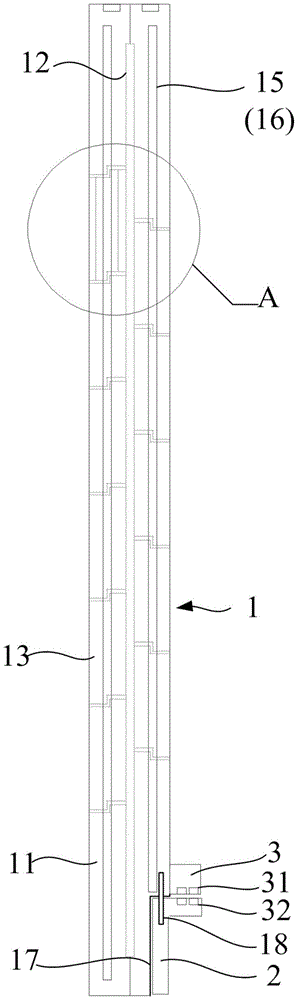
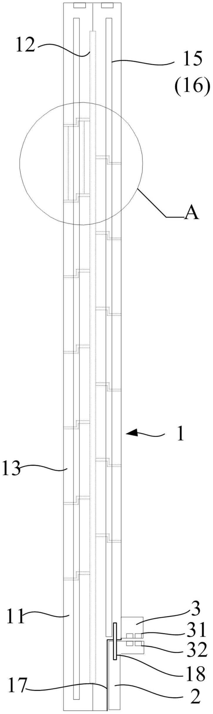
本实用新型提出一种高屏蔽平移防护门,包括门体和遮板,所述遮板设置在门体的前侧且靠近门体的底部,遮板呈L字形,遮板的上方设置有磁力锁,磁力锁包括电源、上磁吸条和下磁吸条,门体包括边框、挡板和多个防护块,挡板的前后面上设置有多个上下连接的防护块,所述防护块包括铅板和不锈钢板,防护块的上顶面和下底面均为Z字形的阶梯面,边框上设置有贯穿位于挡板同侧防护块的连接板,所述边框的侧面设置有连接凸起,所述连接凸起中设置有连接防护块的螺栓和防护条。本实用新型通过将门体采用装配式结构的设计有效降低了本装置搬运和安装的难度,装配性能较好,而且屏蔽完整性较高,设计合理,结构简单,适合大规模推广。


