授权公布号:CN214619159U
扩香容器
有效
申请
2021-05-21
申请公布
1970-01-01
授权
2021-11-05
预估到期
2031-05-21
| 申请号 | CN202121109746.8 |
| 申请日 | 2021-05-21 |
| 授权公布号 | CN214619159U |
| 授权公告日 | 2021-11-05 |
| 分类号 | F21S6/00;F21V3/00;F21V33/00;F21V3/02;A61L9/12 |
| 分类 | 照明; |
| 申请人名称 | 唐势(上海)商贸有限公司 |
| 申请人地址 | 上海市黄浦区丽园路700号5楼501室B-009单元 |
专利法律状态
2021-11-05
授权
状态信息
授权
摘要
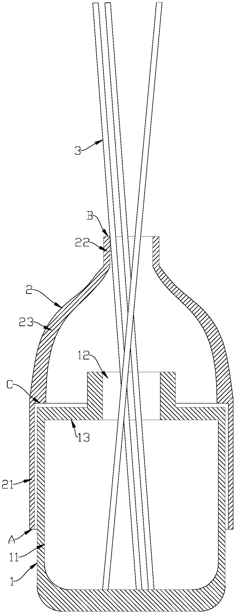
本实用新型涉及一种扩香容器,包括底座、罩体;底座包括收容本体、以及在收容本体上端设置的插接口;罩体包括第一开口端、第二开口端,第一开口端大于第二开口端;第一开口端内侧大于收容本体的外形,以罩设到收容本体上;第二开口端的外圈小于插接口,以在罩体倒放时,让第二开口端插接到插接口。常态下,第一开口端朝下罩设到收容本体,让长香插入第一开口端及插接口,罩体作为装饰使用,在收容本体内放置灯油时,插接口可以放置灯芯,点亮后,罩体可以作为灯罩使用,当收容本体内需要添加灯油时,倒放罩体,第二开口端插接到插接口后,罩体作为漏斗,向收容本体内注油,底座和罩体作为一套使用,结构多变,不易丢失,满足多功能的需求。


