授权公布号:CN206710974U
一种显卡支撑装置及其机箱
有效
申请
2017-01-06
申请公布
1970-01-01
授权
2017-12-05
预估到期
2027-01-06
| 申请号 | CN201720014945.8 |
| 申请日 | 2017-01-06 |
| 授权公布号 | CN206710974U |
| 授权公告日 | 2017-12-05 |
| 分类号 | G06F1/18 |
| 分类 | 计算;推算;计数; |
| 申请人名称 | 惠州市鑫谷电子科技有限公司 |
| 申请人地址 | 广东省惠州市博罗县罗阳镇大桥北路9号 |
专利法律状态
2017-12-05
授权
状态信息
授权
摘要
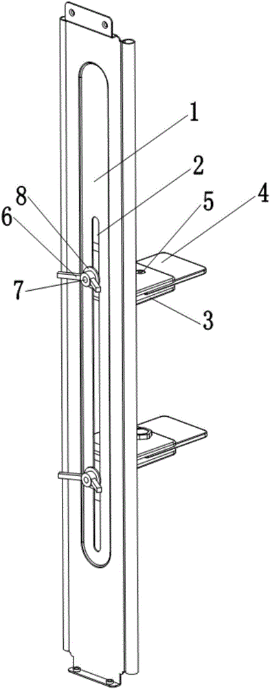
本实用新型提供一种显卡支撑装置及其机箱,所述显卡支撑装置包括:支架本体、锁紧槽、锁紧构件和显卡固定构件,所述锁紧槽设置于所述支架本体上,所述锁紧构件通过锁紧槽设置于所述支架本体上,所述锁紧构件与所述显卡固定构件相连接。本实用新型所述锁紧构件能够在所述锁紧槽中滑动,进而可以根据显卡的位置相应地调整所述显卡固定构件的位置,以实现对于显卡的固定和保护作用;进一步地,所述显卡固定构件的第一显卡固定件与第二显卡固定件之间转动连接,进而能够支持横插以及竖插这两种安装方式的显卡,使得包括了所述显卡支撑装置的机箱不再因为运输或使用过程中的碰撞而损坏显卡,提高了产品的稳定性能,提高了其人性化设计程度。


