授权公布号:CN214954850U
一种用于机箱的开关结构
有效
申请
2021-06-21
申请公布
1970-01-01
授权
2021-11-30
预估到期
2031-06-21
| 申请号 | CN202121382284.7 |
| 申请日 | 2021-06-21 |
| 授权公布号 | CN214954850U |
| 授权公告日 | 2021-11-30 |
| 分类号 | G06F1/18;G06F21/86 |
| 分类 | 计算;推算;计数; |
| 申请人名称 | 惠州市鑫谷电子科技有限公司 |
| 申请人地址 | 广东省惠州市博罗县罗阳街道义和西区工业区 |
专利法律状态
2021-11-30
授权
状态信息
授权
摘要
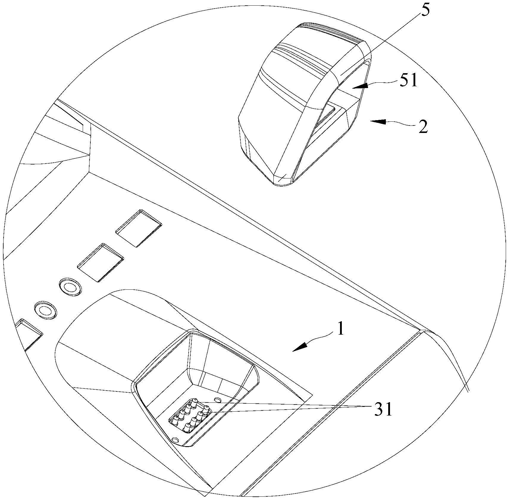
本实用新型公开了一种用于机箱的开关结构,包括固定座和开关件,固定座用于连接计算机的数据端和/或电源端,固定座设有第一连接部,所述开关件可拆卸安装于固定座,开关件设有与第一连接部相配合的第二连接部,当第一连接部和第二连接部相接触时,开关件可控制数据端和/或电源端的开启或关闭。通过将开关件可拆卸设置于固定座,当需要使用计算机,第一连接部和第二连接部相连接时,可以通过开关件控制计算机的数据端和/或电源端的开启和关闭,当需要对计算机进行加密时,通过开关件也可以起到密码钥匙的作用,保护数据安全;同时通过将开关件设置为可拆卸式的,也避免了开关件损坏后更换麻烦的问题,且结构简单,对机箱结构的改动较小。


