授权公布号:CN215765641U
一种便于安装的风幕机
有效
申请
2021-06-24
申请公布
1970-01-01
授权
2022-02-08
预估到期
2031-06-24
| 申请号 | CN202121412583.0 |
| 申请日 | 2021-06-24 |
| 授权公布号 | CN215765641U |
| 授权公告日 | 2022-02-08 |
| 分类号 | F24F9/00 |
| 分类 | 供热;炉灶;通风; |
| 申请人名称 | 沈阳金晨伟业冷暖设备有限公司 |
| 申请人地址 | 辽宁省沈阳市东陵区李相街道元科村 |
专利法律状态
2022-02-08
授权
状态信息
授权
摘要
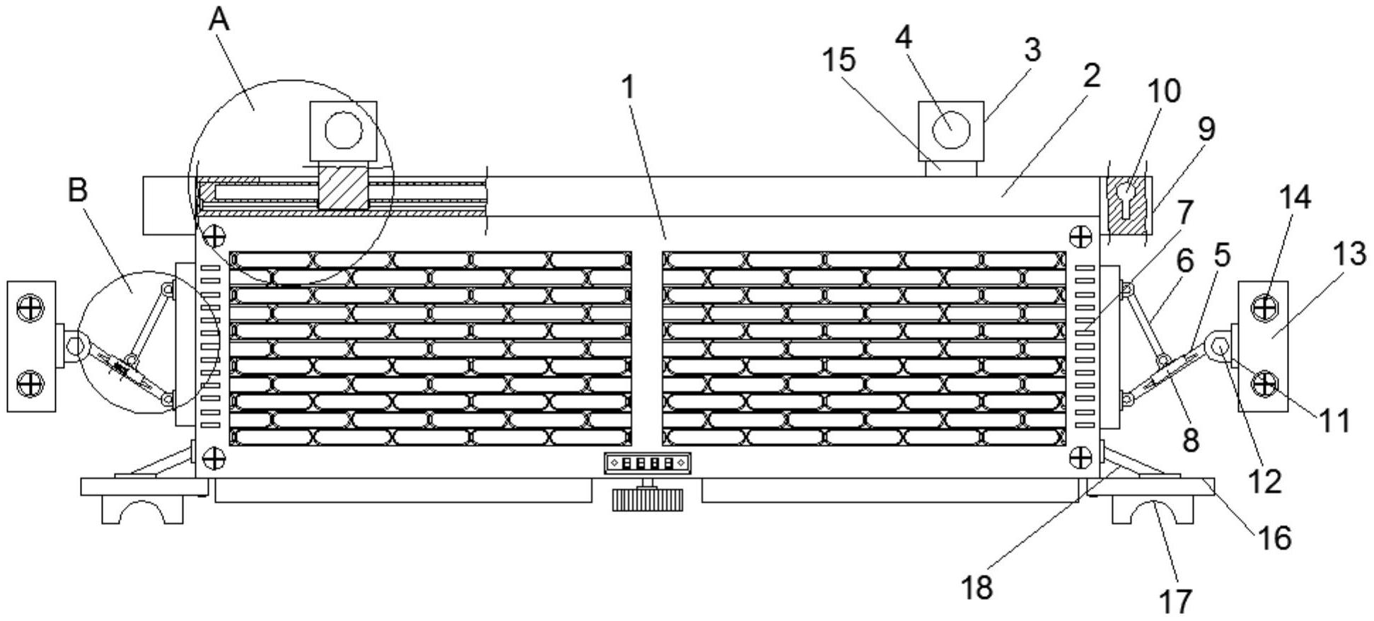
本实用新型公开了一种便于安装的风幕机,活动槽的内侧壁固定安装有导向杆,连接块的上侧壁固定安装有安装板,安装板的内腔开设有安装孔,连接板的内侧壁前后对称的开设有凹槽,连接块的前后两侧壁均对称的固定安装有安装座,两个安装座的前侧壁分别固定连接有连接架的两端,通过加强杆提高托板的稳定性,保证风幕机在托起的时候更加稳定,防止风幕机掉落,然后将安装板移动到合适的固定位置上,然后通过安装板内腔的安装孔将安装板固定在合适的位置上,使得风幕机在安装的时候更加方便,减少扶持风幕机的时间,降低安装过程的劳动力,从而提高了风幕机安装的效率。


