授权公布号:CN216043313U
门窗多点锁系统及多点锁铝合金窗
有效
申请
2021-07-29
申请公布
1970-01-01
授权
2022-03-15
预估到期
2031-07-29
| 申请号 | CN202121756252.9 |
| 申请日 | 2021-07-29 |
| 授权公布号 | CN216043313U |
| 授权公告日 | 2022-03-15 |
| 分类号 | E06B3/263;E06B3/36;E06B7/16;E05B63/14;E05B15/00 |
| 分类 | 一般门、窗、百叶窗或卷辊遮帘;梯子; |
| 申请人名称 | 广东德技优品门窗有限公司 |
| 申请人地址 | 广东省佛山市三水区乐平镇三溪村民委员会夏洞村“布地”(土名)景福科技产业园3号、4号厂房 |
专利法律状态
2022-03-15
授权
状态信息
授权
摘要
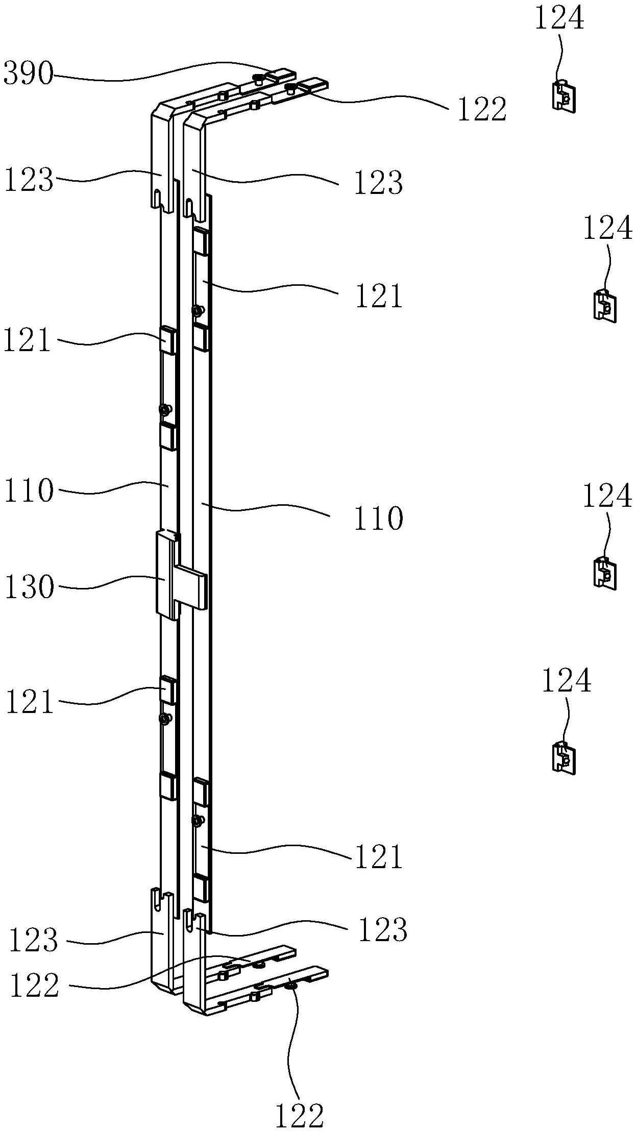
本实用新型公开了门窗多点锁系统,包括锁组,锁组包括传动件、锁点和锁座;锁点的数量为多个锁点和对应的锁座锁合连接;锁组的数量设置有两个,两个锁组分别为内层锁组和外层锁组;内外连接件,内外连接件包括内层连接部和外层连接部,内层连接部与内层锁组的传动件相对固定,外层连接部与外层锁组的传动件相对固定。多点锁铝合金窗,包括窗框、窗体以及门窗多点锁系统;窗体包括内层五金件安装槽和外层五金件安装槽,内层五金件安装槽和外层五金件安装槽沿室内至室外方向排布,内层锁组安装于内层五金件安装槽,外层锁组安装于外层五金件安装槽,窗体安装有执手,执手与内外连接件连接,执手带动内外连接件上下滑移;锁座固定于窗框内侧。


