授权公布号:CN215616248U
一种铜铝复合散热器制造用模具
有效
申请
2021-07-16
申请公布
1970-01-01
授权
2022-01-25
预估到期
2031-07-16
| 申请号 | CN202121619963.1 |
| 申请日 | 2021-07-16 |
| 授权公布号 | CN215616248U |
| 授权公告日 | 2022-01-25 |
| 分类号 | B23P19/02 |
| 分类 | 机床;不包含在其他类目中的金属加工; |
| 申请人名称 | 天津市九鼎阳光暖通有限公司 |
| 申请人地址 | 天津市宁河区经济开发区 |
专利法律状态
2022-01-25
授权
状态信息
授权
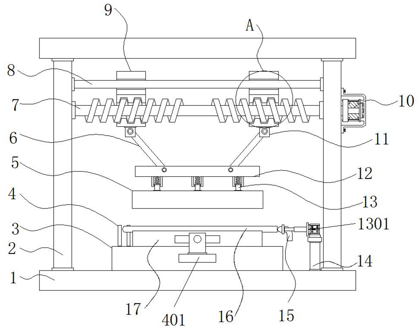
摘要
本实用新型公开了一种铜铝复合散热器制造用模具,包括底座和支撑架,所述底座顶端的两侧固定连接有支撑架,所述底座的顶端安装有下模具。该铜铝复合散热器制造用模具通过设置有升降杆,滑杆、滑套、伺服电机和安装块,需要把U形铜管嵌到安装槽的内部时启动伺服电机,伺服电机会带动螺纹杆正转,在螺纹杆的外部套接有滑套,螺纹杆正转时滑套会呈对向移动,当滑套呈对向移动时升降杆会通过铰接块使上模具和连接板下降,通过使上模具下降可以方便上模具对U形铜管按压,上模具对U形铜管按压可以使U形铜管嵌入安装槽的内部,U形铜管嵌入安装槽的内部则完成对U形铜管的安装,解决的是不方便对上模具进行升降,不方便拿取铝质散热基座的问题。


