授权公布号:CN211134929U
一种用于餐厨废弃物处理的自消毒压缩分选装置
有效
申请
2019-11-27
申请公布
1970-01-01
授权
2020-07-31
预估到期
2029-11-27
| 申请号 | CN201922071714.2 |
| 申请日 | 2019-11-27 |
| 授权公布号 | CN211134929U |
| 授权公告日 | 2020-07-31 |
| 分类号 | B09B3/00 |
| 分类 | 固体废物的处理;被污染土壤的再生〔3,6〕; |
| 申请人名称 | 稳力(天津)环保科技有限公司 |
| 申请人地址 | 天津市西青区中北镇大梁庄村东 |
专利法律状态
2020-07-31
授权
状态信息
授权
摘要
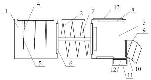
一种用于餐厨废弃物处理的自消毒压缩分选装置,包括:进料箱、搅拌装置、压缩仓、废液池、物料排出管道、控制装置,其中,进料箱内部设置有切割装置,所述的切割装置采用数量至少两个的切刀组成;所述的压缩仓内壁设置有高温加热装置,压缩仓内部设置有挤压板,所述的挤压板采用内高温材料制成;在压缩仓底部设置有废液池,所述的废液池内部设置有消毒杀菌装置,废液池侧面连接有废液排出管路;做到固液自动分离,而且通过切刀的先对过大固体废料进行切割,有助于后期的挤压,而且在压缩过程中对废料进行加热,在压缩的过程中尽量减小空间占比,是压缩更加彻底,而且对废液进行消毒杀菌,没有细菌病毒及有害物质产生。


