授权公布号:CN207655528U
一种自动称重剔除装置
有效
申请
2017-11-22
申请公布
1970-01-01
授权
2018-07-27
预估到期
2027-11-22
| 申请号 | CN201721576010.5 |
| 申请日 | 2017-11-22 |
| 授权公布号 | CN207655528U |
| 授权公告日 | 2018-07-27 |
| 分类号 | B07C5/28;B07C5/36;B07C5/38;B07C5/02 |
| 分类 | 将固体从固体中分离;分选; |
| 申请人名称 | 广东生和堂健康食品股份有限公司 |
| 申请人地址 | 广东省江门市江海区胜利南路166号 |
专利法律状态
2018-07-27
授权
状态信息
授权
摘要
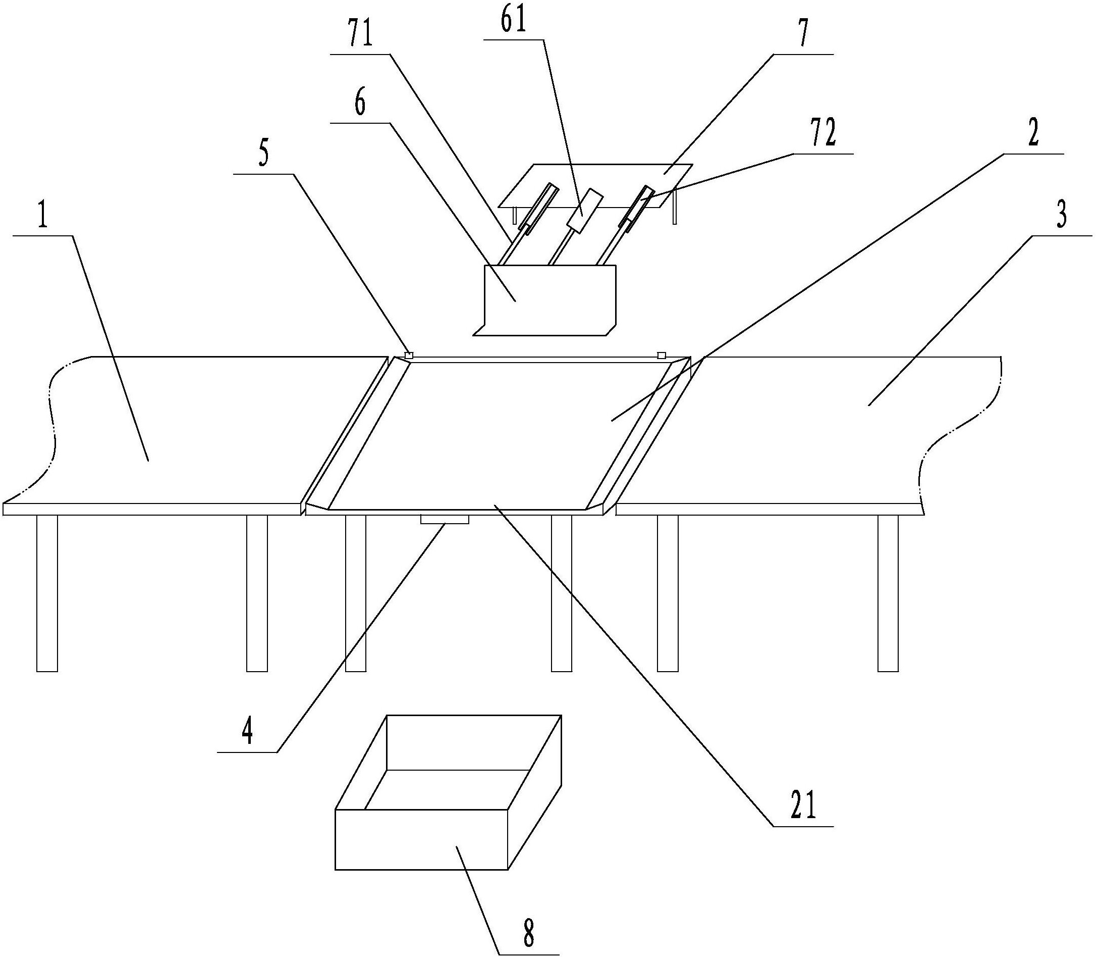
本实用新型公开了一种自动称重剔除装置,包括依次布置的进料机构、称重机构、出料机构和PLC控制系统,通过在称重底盘一侧设置有次品出口、另一侧安装有次品剔除机构,当产品进入称重底盘进行称重,称重数据由重量传感器传输至PLC控制系统与PLC控制系统预设的参数范围对比,若是产品的重量在参数范围内,则出料机构带动产品输送至下一工序,若是产品的重量不在参数范围内,则次品剔除机构将该不合格产品通过推板推出称重底盘,防止不合格产品进入下一工序,该装置可以实现操作的自动化,降低了工人的劳动强度,提高了工作效率。


