授权公布号:CN212892198U
一种自动落盘装置
有效
申请
2020-08-08
申请公布
1970-01-01
授权
2021-04-06
预估到期
2030-08-08
| 申请号 | CN202021636732.7 |
| 申请日 | 2020-08-08 |
| 授权公布号 | CN212892198U |
| 授权公告日 | 2021-04-06 |
| 分类号 | B65G17/36;B65G17/12;B65G23/06;B65G47/82 |
| 分类 | 输送;包装;贮存;搬运薄的或细丝状材料; |
| 申请人名称 | 西安市泰升食品有限责任公司 |
| 申请人地址 | 陕西省西安市沣东新城斗门街办富裕路 |
专利法律状态
2021-04-06
授权
状态信息
授权
摘要
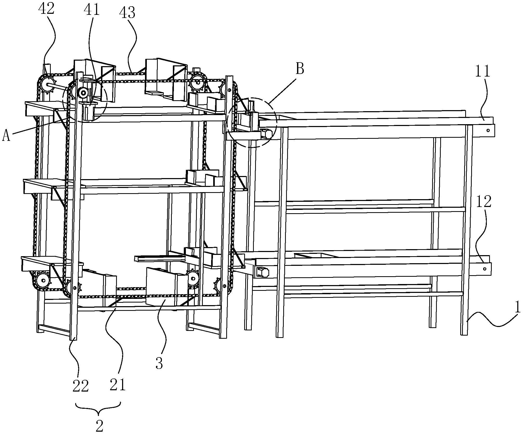
本申请涉及一种自动落盘装置,包括第一机架和第二机架,第一机架上沿水平方向设置有第一传送带和第二传送带,第一传送带位于第二传送待的上方,第二机架上沿竖直方向滑动设置有承载板,第二机架上设置有用于驱使承载板在竖直方向上运动的升降组件。托盘在第一传送带上朝向第二机架的方向运动,待托盘运动到承载板上之后,通过升降组件驱使承载板竖直朝下运动,然后将托盘放置在第二传送带上,进行下一道工序,第一传送带位于第二传送带的上方,通过升降组件带动承载板运动,继而完成托盘从第一传送带到第二传送带的运动,降低了生产占地面积,降低了成本。


