授权公布号:CN210814784U
粉料油水混合搅拌装置
有效
申请
2019-09-29
申请公布
1970-01-01
授权
2020-06-23
预估到期
2029-09-29
| 申请号 | CN201921637421.X |
| 申请日 | 2019-09-29 |
| 授权公布号 | CN210814784U |
| 授权公告日 | 2020-06-23 |
| 分类号 | B01F7/04;B01F15/00 |
| 分类 | 一般的物理或化学的方法或装置; |
| 申请人名称 | 杭州麦爽食品有限公司 |
| 申请人地址 | 浙江省杭州市萧山区党湾镇幸福村十组79号 |
专利法律状态
2020-06-23
授权
状态信息
授权
摘要
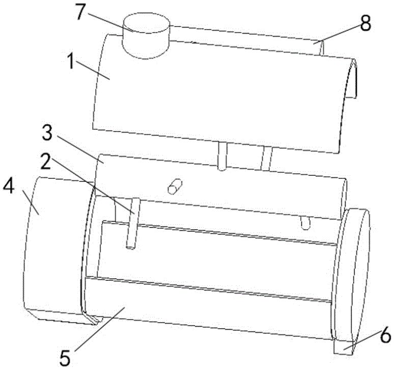
粉料油水混合搅拌装置,包括:定量进粉装置、机架、搅拌舱动力装置、食用水泵以及食用油泵,卧式搅拌舱,呈圆柱体,上半舱与下半舱铰接,上半舱上设置有进粉口、进油口、进水口,下半舱设置有出料口,下班舱设置在机架上,与机架固定连接,与搅拌舱动力装置传动连接;棍杆式搅拌轴,设置在卧式搅拌舱内,与下半舱铰接,与搅拌舱动力装置转轴传动连接;透气输送管,设置在定量进粉装置输出口与卧式搅拌舱进粉口之间,用于在输送粉料时排出粉料中包含的气体,与定量进粉装置以及卧式搅拌舱可拆卸连接;液压阀,设置在卧式搅拌舱出料口口上。


