授权公布号:CN217164696U
一种鹅肝切割粉碎打浆装置
有效
申请
2022-02-21
申请公布
1970-01-01
授权
2022-08-12
预估到期
2032-02-21
| 申请号 | CN202220368009.8 |
| 申请日 | 2022-02-21 |
| 授权公布号 | CN217164696U |
| 授权公告日 | 2022-08-12 |
| 分类号 | B02C18/02;B02C18/04;B02C23/16;B08B9/087 |
| 分类 | 破碎、磨粉或粉碎;谷物碾磨的预处理; |
| 申请人名称 | 山东尊润圣罗捷食品有限公司 |
| 申请人地址 | 山东省潍坊市临朐县城关街道兴隆西路2888号 |
专利法律状态
2022-08-12
授权
状态信息
授权
摘要
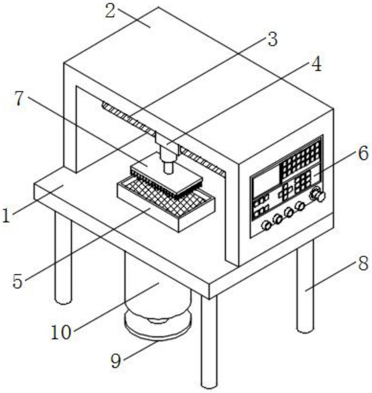
本实用新型涉及食品加工设备技术领域,具体涉及一种鹅肝切割粉碎打浆装置,包括装置主体和底座,底座位于装置主体的正下方,装置主体的顶部安装有切割架,切割架的顶部和装置主体的顶部均贯穿开设有通孔,切割架的内部安装有筛网,底座的上方设置有打浆筒。本实用新型克服了现有技术的不足,通过设置切割架、通孔和筛网,通过将鹅肝放置于切割架内,使得在通过切割刀对鹅肝进行切割粉碎时,能够通过切割架内部的筛网对鹅肝进行过滤筛分,从而使得达到切割要求的鹅肝将向下掉落,由于打浆筒位于通孔的正下方,从而能够在切割过程中也能够对鹅肝进行打浆处理,节省了对鹅肝的输送时间,从而提高了对鹅肝的加工效率,十分的方便,利于实际使用。


