授权公布号:CN109186336B
伸缩警棍
有效
申请
2018-11-06
申请公布
2019-01-11
授权
2023-12-05
预估到期
2038-11-06
| 申请号 | CN201811314955.9 |
| 申请日 | 2018-11-06 |
| 申请公布号 | CN109186336A |
| 申请公布日 | 2019-01-11 |
| 授权公布号 | CN109186336B |
| 授权公告日 | 2023-12-05 |
| 分类号 | F41B15/02 |
| 分类 | 武器; |
| 申请人名称 | 广东纳丽德移动照明有限责任公司 |
| 申请人地址 | 广东省阳江市阳东区东城镇裕东一路61号 |
专利法律状态
2023-12-05
授权
状态信息
授权
2019-02-12
实质审查的生效
状态信息
实质审查的生效;IPC(主分类):F41B15/02;申请日:20181106
2019-01-11
公布
状态信息
公布
摘要
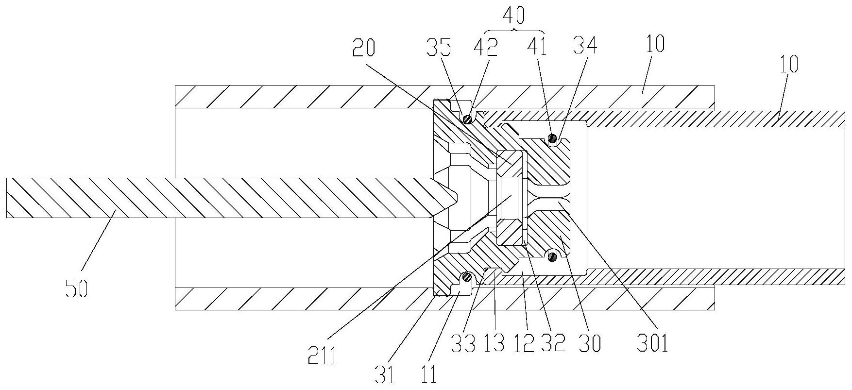
本发明提供了一种伸缩警棍,包括多个套管、定位环、多个锁定件和解锁杆,多个套管依次可伸缩地嵌套设置,定位环具有避让孔,多个锁定件绕定位环的外周侧间隔设置并围成避让空间,多个锁定件的轴向第一端伸入位于内侧的套管内,多个锁定件的轴向第二端由位于内侧的套管伸出并与位于外侧的套管卡紧连接,将相邻的两个套管锁定在伸出状态,当解锁杆伸入避让空间并穿过避让孔后抵推锁定件的第一端,多个锁定件的第一端在解锁杆的抵推作用下向外扩张,各锁定件以定位环为支点转动,多个锁定件的轴向第二端沿径向收缩后而与位于外侧的套管分离,相邻的两个套管处于自由伸缩状态。本发明解决了现有技术中伸缩警棍的结构复杂和强度低的问题。


