授权公布号:CN213625296U
一种便于调节的高速公路用隔音屏障
有效
申请
2020-09-10
申请公布
1970-01-01
授权
2021-07-06
预估到期
2030-09-10
| 申请号 | CN202021971991.5 |
| 申请日 | 2020-09-10 |
| 授权公布号 | CN213625296U |
| 授权公告日 | 2021-07-06 |
| 分类号 | E01F8/00;F16F15/067 |
| 分类 | 道路、铁路或桥梁的建筑; |
| 申请人名称 | 靖江市嘉盛交通设施有限公司 |
| 申请人地址 | 江苏省泰州市靖江市城南园区七圩港路9号 |
专利法律状态
2021-07-06
授权
状态信息
授权
摘要
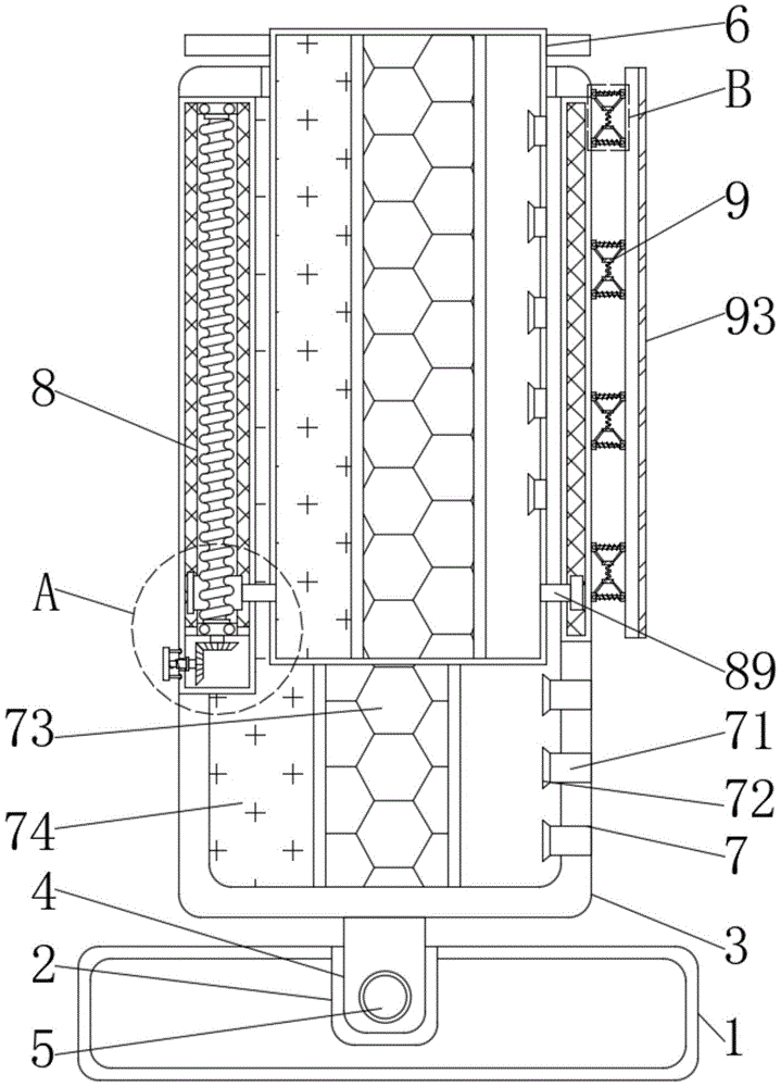
本实用新型涉及隔音屏障技术领域,具体涉及一种便于调节的高速公路用隔音屏障,包括屏障底座,所述屏障底座的上表面开设有凹槽,所述凹槽的上方设置有屏障板,且屏障板的底端外壁安装有凸块,并且凸块的外表面与凹槽的内表面适配相连,所述屏障底座的一侧安装有螺杆,且螺杆贯穿屏障底座、凹槽和凸块并延伸至屏障底座的内部。本实用新型通过设置有延伸板,通过外拉拉板,将拉板进行转动,使滑动套与连接板带动延伸板进行滑动,使延伸板滑出屏障板内部,方便在一些噪音较大的路段将隔音板进行加长,同时通过吸音口可以使噪音送到吸音舱进行吸收充分吸收,减少噪音的传播,避免噪音对周围居民群众的生活影响。


