授权公布号:CN217526294U
一种套装高尔夫球钉
有效
申请
2022-03-31
申请公布
1970-01-01
授权
2022-10-04
预估到期
2032-03-31
| 申请号 | CN202220733133.X |
| 申请日 | 2022-03-31 |
| 授权公布号 | CN217526294U |
| 授权公告日 | 2022-10-04 |
| 分类号 | A63B57/00 |
| 分类 | 运动;游戏;娱乐活动; |
| 申请人名称 | 深圳市百事特体育用品有限公司 |
| 申请人地址 | 广东省深圳市龙岗区平湖街道良安田社区振兴路10号B栋 |
专利法律状态
2022-10-04
授权
状态信息
授权
摘要
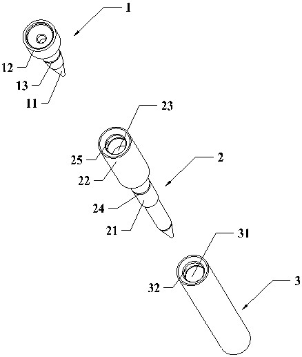
本实用新型提出了一种套装高尔夫球钉,包括可以嵌套组装的短钉、长钉和钉套;短钉包括用于插入土层的短钉钉身和设于短钉钉身顶部的短钉球托;长钉包括用于插入土层的长钉钉身和设于长钉钉身顶部的长钉球托;长钉内设有顶部开口的短钉容纳腔,钉套内设有顶部开口的长钉容纳腔;组装时,短钉钉身嵌套于短钉容纳腔中,长钉钉身嵌套于长钉容纳腔中。本实用新型将不同规格的球钉与钉套进行组装,既可以保证携带球钉的安全性,又可以减少球钉占用的空间。


