授权公布号:CN208770879U
一种真空蒸馏釜用机械密封装置
有效
申请
2018-08-21
申请公布
1970-01-01
授权
2019-04-23
预估到期
2028-08-21
| 申请号 | CN201821342861.8 |
| 申请日 | 2018-08-21 |
| 授权公布号 | CN208770879U |
| 授权公告日 | 2019-04-23 |
| 分类号 | B01D3/10;F16J15/16 |
| 分类 | 一般的物理或化学的方法或装置; |
| 申请人名称 | 青岛伊森新材料股份有限公司 |
| 申请人地址 | 山东省青岛市胶州市九龙镇瓦屋庄村 |
专利法律状态
2019-04-23
授权
状态信息
授权
摘要
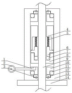
本实用新型公开了一种真空蒸馏釜用机械密封装置,包括釜体,所述釜体的上端安装有安装板,所述安装板的上端固定有固定座,所述固定座内设有空腔,所述空腔内的顶部和底部均设有开口,两个开口内共同贯穿设有转动轴,所述转动轴的一端贯穿安装板和釜体并延伸至釜体内,所述空腔内的顶部和底部均固定有静环座,所述静环座的一端均固定有静环,其中一个静环上设有保护装置,所述静环与静环座之间共同安装有第二O型圈,其中一个静环的上端设有动环,所述动环的上端安装有推环。本实用新型实现了提高机械密封装置密封性能,防止釜体内气体泄漏,实现了保护釜体内进行发生,防止机械密封装置出现问题后无保护措施造成严重后果。


