授权公布号:CN220201324U
一种定制家居物流运输装置
有效
申请
2023-06-16
申请公布
1970-01-01
授权
2023-12-19
预估到期
2033-06-16
| 申请号 | CN202321533602.4 |
| 申请日 | 2023-06-16 |
| 授权公布号 | CN220201324U |
| 授权公告日 | 2023-12-19 |
| 分类号 | B66F9/06;B66F9/22;B66F9/075 |
| 分类 | 卷扬;提升;牵引; |
| 申请人名称 | 南京我乐家居股份有限公司 |
| 申请人地址 | 江苏省南京市江宁经济技术开发区清水亭西路218号 |
专利法律状态
2023-12-19
授权
状态信息
授权
摘要
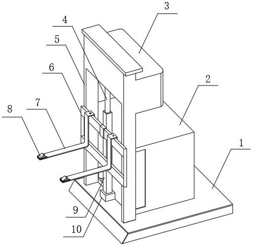
本实用新型公开了一种定制家居物流运输装置,包括液压杆和所述液压杆下端的连接架,所述连接架的下端连接设置有支撑底座,所述液压杆的下端连接设置有连接架,所述连接架上连接设置有固定架;叉臂位于所述固定架上,所述叉臂的一端设置有固定螺孔,所述叉臂的另一端设置有第一保护套,所述第一保护套的内侧且位于叉臂上设置有凹槽,所述凹槽内连接设置有复位弹簧柱,所述复位弹簧柱的上端连接设置有限位板,通过这样的结构设置,能够有效的解决原有装置中存在的定制家居漆面因刮擦受损和因晃动产生安全隐患的问题。


