授权公布号:CN213968157U
一种基于驼乳粉发酵用立式浓奶罐的清洁装置
有效
申请
2020-10-28
申请公布
1970-01-01
授权
2021-08-17
预估到期
2030-10-28
| 申请号 | CN202022429959.0 |
| 申请日 | 2020-10-28 |
| 授权公布号 | CN213968157U |
| 授权公告日 | 2021-08-17 |
| 分类号 | B08B9/087 |
| 分类 | 清洁; |
| 申请人名称 | 新疆中驼生物科技有限公司 |
| 申请人地址 | 新疆维吾尔自治区哈密市伊吾县盐池镇农产品加工区内 |
专利法律状态
2021-08-17
授权
状态信息
授权
摘要
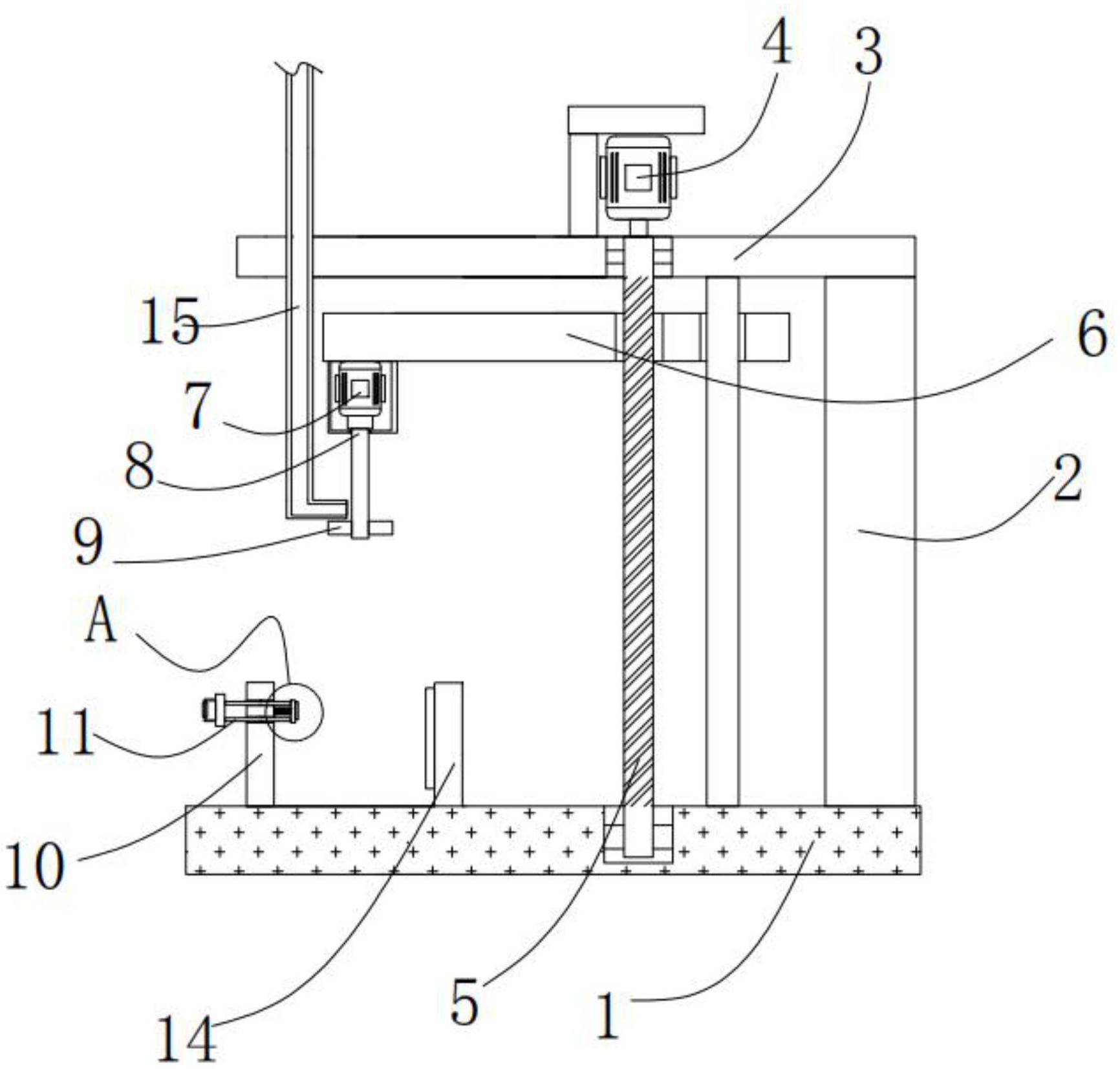
本实用新型提供一种基于驼乳粉发酵用立式浓奶罐的清洁装置。所述基于驼乳粉发酵用立式浓奶罐的清洁装置包括:底座;第一固定块,所述第一固定块固定安装在底座的顶部;第二固定块,所述第一固定块固定安装在第一固定块的顶部;第一电机,所述第一电机设置在第二固定块的顶部;螺纹杆,所述螺纹杆转动安装在底座与第二固定块上,所述螺纹杆的顶端与第一电机固定连接。本实用新型提供的基于驼乳粉发酵用立式浓奶罐的清洁装置具有可以对奶罐进行清洁,便于对奶罐进行固定的优点。


