授权公布号:CN213848542U
一种基于驼乳粉生产用的除菌发酵装置
有效
申请
2020-10-29
申请公布
1970-01-01
授权
2021-08-03
预估到期
2030-10-29
| 申请号 | CN202022478110.2 |
| 申请日 | 2020-10-29 |
| 授权公布号 | CN213848542U |
| 授权公告日 | 2021-08-03 |
| 分类号 | A23C9/12;A23C7/04 |
| 分类 | 其他类不包含的食品或食料;及其处理; |
| 申请人名称 | 新疆中驼生物科技有限公司 |
| 申请人地址 | 新疆维吾尔自治区哈密市伊吾县盐池镇农产品加工区内 |
专利法律状态
2021-08-03
授权
状态信息
授权
摘要
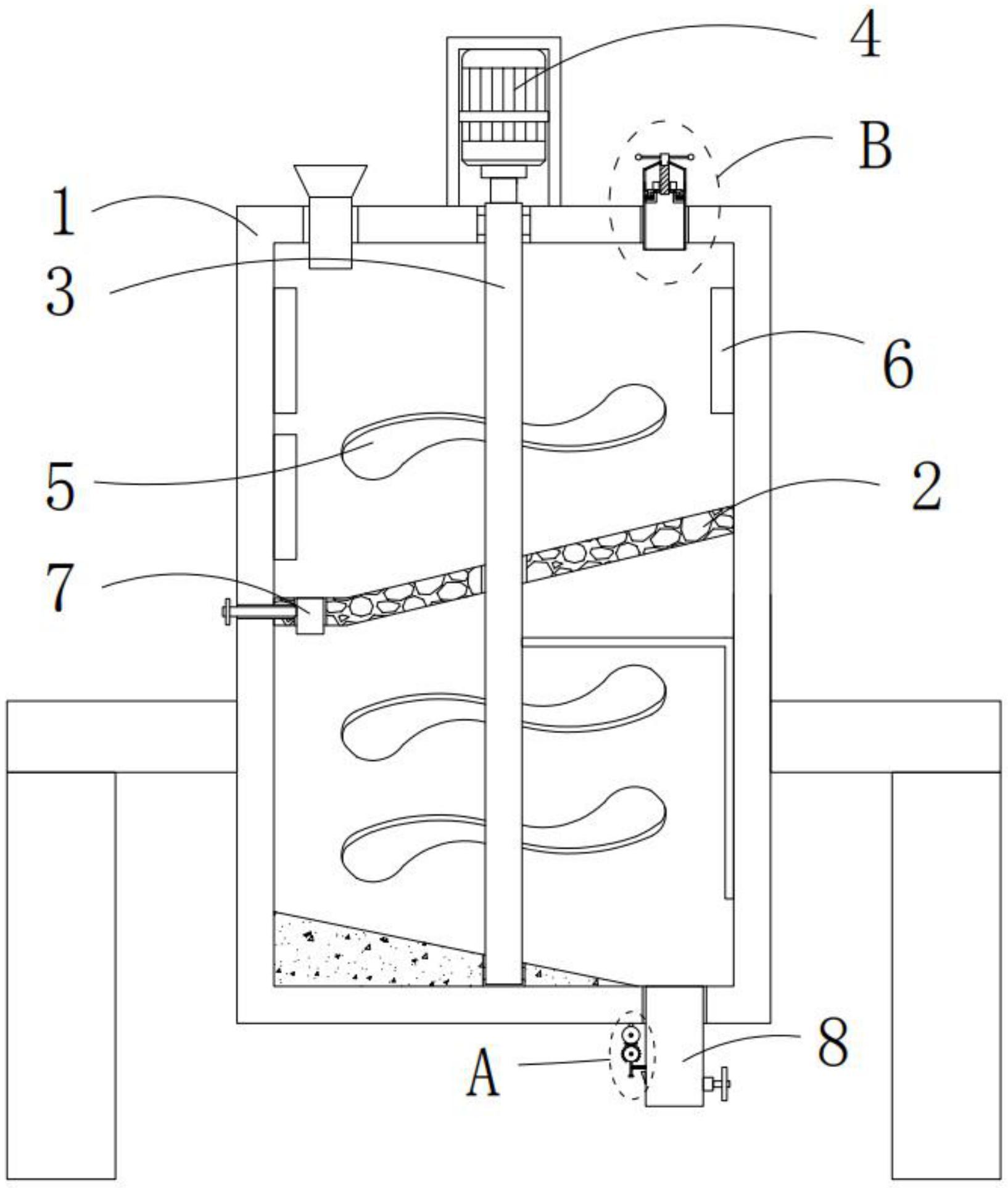
本实用新型提供一种基于驼乳粉生产用的除菌发酵装置。所述基于驼乳粉生产用的除菌发酵装置包括:罐体;隔断板,所述隔断板固定安装在罐体的两侧内壁上;搅拌轴,所述搅拌轴转动安装在罐体的顶部,所述搅拌轴的底部延伸至罐体内并与罐体的底部内壁转动连接,所述搅拌轴与所述隔断板转动连接;第一电机,所述第一电机设置在罐体的顶部,所述第一电机的输出轴与搅拌轴固定连接。本实用新型提供的基于驼乳粉生产用的除菌发酵装置具有使用方便,能够简单有效的对骆乳粉进行除菌发酵,密封性好,发酵速度快,并能够防止出料管堵塞,操作起来简单便捷的优点。


