授权公布号:CN213854281U
一种益生菌驼乳粉生产用有效成分提取的配料装置
有效
申请
2020-10-29
申请公布
1970-01-01
授权
2021-08-03
预估到期
2030-10-29
| 申请号 | CN202022448430.3 |
| 申请日 | 2020-10-29 |
| 授权公布号 | CN213854281U |
| 授权公告日 | 2021-08-03 |
| 分类号 | B01F13/10;B01F15/00;A23C9/12;A23C9/16 |
| 分类 | 一般的物理或化学的方法或装置; |
| 申请人名称 | 新疆中驼生物科技有限公司 |
| 申请人地址 | 新疆维吾尔自治区哈密市伊吾县盐池镇农产品加工区内 |
专利法律状态
2021-08-03
授权
状态信息
授权
摘要
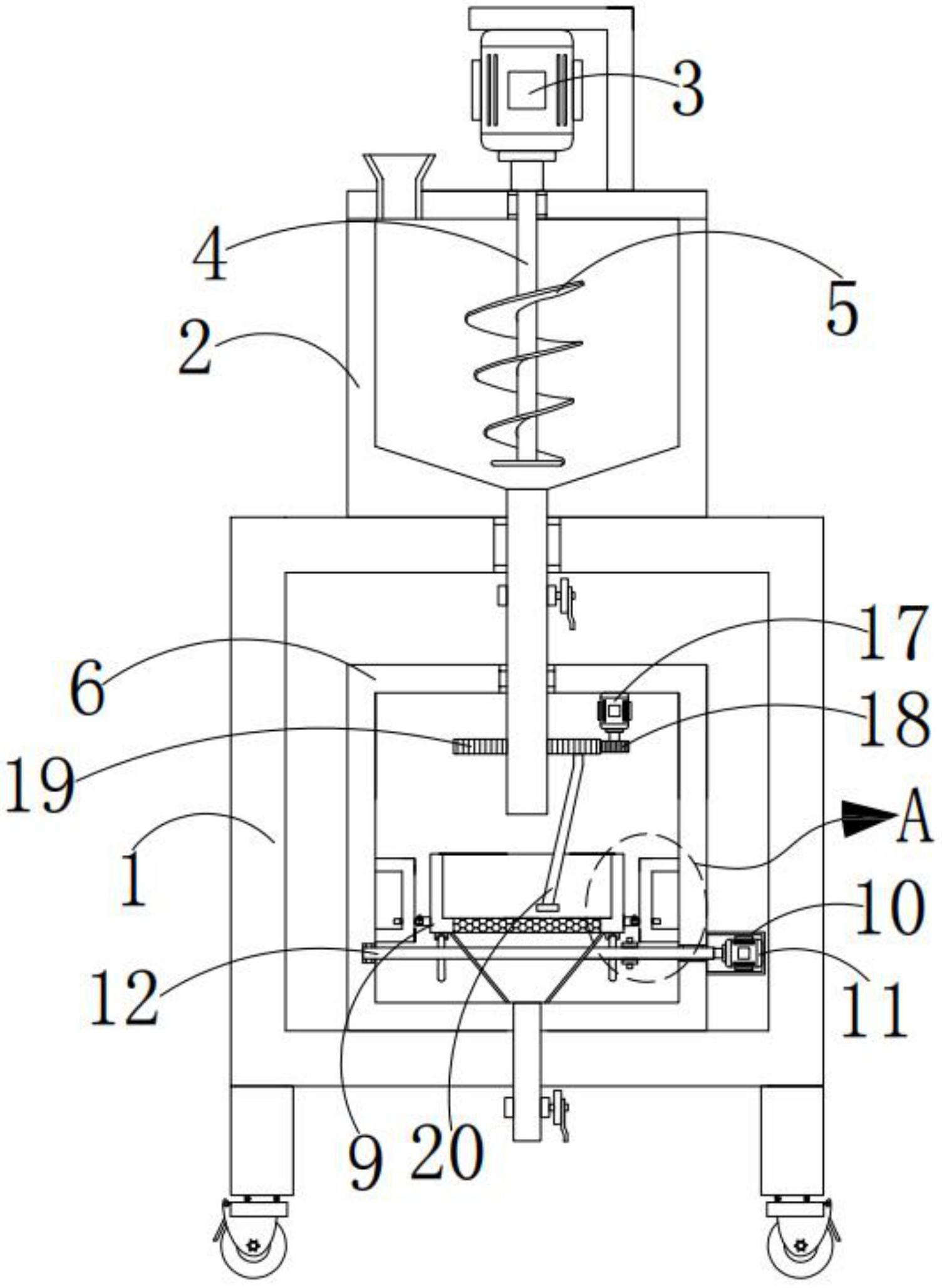
本实用新型提供一种益生菌驼乳粉生产用有效成分提取的配料装置。所述益生菌驼乳粉生产用有效成分提取的配料装置包括:固定箱;搅拌箱,所述搅拌箱固定安装在所述固定箱的顶部;第一电机,所述第一电机固定安装在所述搅拌箱的顶部;转动杆,所述转动杆转动安装在所述搅拌箱的顶部内壁上,所述转动杆的顶端延伸至所述搅拌箱外并与所述第一电机的输出轴固定连接;搅拌叶,所述搅拌叶设置在所述搅拌箱内,所述搅拌叶固定安装在所述转动杆的外壁上。本实用新型提供的益生菌驼乳粉生产用有效成分提取的配料装置具有操作方便,节省时间,容易拆卸和方便清理的优点。


