授权公布号:CN217228106U
白茶包装袋传送装置
有效
申请
2022-01-24
申请公布
1970-01-01
授权
2022-08-19
预估到期
2032-01-24
| 申请号 | CN202220183784.6 |
| 申请日 | 2022-01-24 |
| 授权公布号 | CN217228106U |
| 授权公告日 | 2022-08-19 |
| 分类号 | B65B43/52 |
| 分类 | 输送;包装;贮存;搬运薄的或细丝状材料; |
| 申请人名称 | 福建品品香茶业有限公司 |
| 申请人地址 | 福建省宁德市福鼎市桐城资国村山下106号 |
专利法律状态
2022-08-19
授权
状态信息
授权
摘要
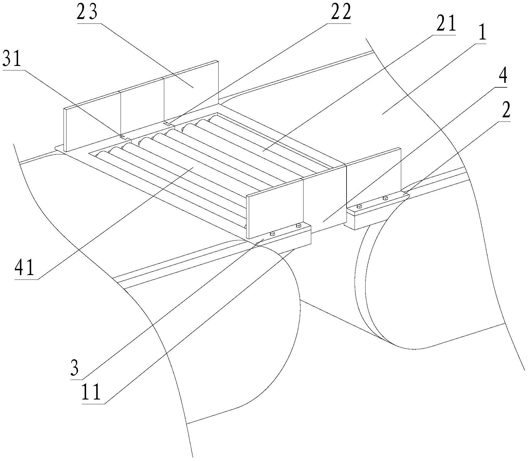
本实用新型涉及白茶加工技术领域,尤其涉及白茶包装袋传送装置,包括传送带、第一接驳台和第二接驳台;所述第一接驳台与一组所述传送带的出料端可拆卸连接,所述第二接驳台与另一组所述传送带的进料端可拆卸连接,所述第一接驳台和所述第二接驳台可拆卸连接,所述第一接驳台和所述第二接驳台上均设有转动输送辊。本实用新型提供的白茶包装袋传送装置相较于传统采用机械手逐个转运的方式不仅提高了效率,而且降低了成本,免去了接驳传送装置安装、调试和维护的成本。


