授权公布号:CN208761073U
植物果肉不破坏分子结构生产中自动贴标装置
失效
申请
2018-05-28
申请公布
1970-01-01
授权
2019-04-19
预估到期
2028-05-28
| 申请号 | CN201820799022.2 |
| 申请日 | 2018-05-28 |
| 授权公布号 | CN208761073U |
| 授权公告日 | 2019-04-19 |
| 分类号 | B65C9/02;B65C9/18;B65C9/30 |
| 分类 | 输送;包装;贮存;搬运薄的或细丝状材料; |
| 申请人名称 | 福建紫山集团股份有限公司 |
| 申请人地址 | 福建省漳州市龙海市颜厝镇田址村 |
专利法律状态
2023-06-09
专利权的终止
状态信息
未缴年费专利权终止;IPC(主分类):B65C9/02;申请日:20180528;授权公告日:20190419
2019-04-19
授权
状态信息
授权
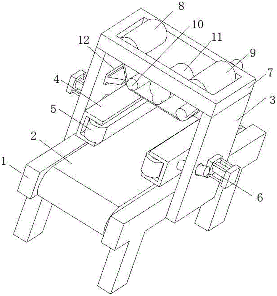
摘要
本实用新型公开了植物果肉生产技术领域的植物果肉不破坏分子结构生产中自动贴标装置,包括支架和贴标输送台,所述贴标输送台转动连接于支架的内部,所述支架的两侧壁均竖直安装有立板,所述立板的内侧设有定位框,所述定位框的内部转动连接有定位皮带,所述支架的外侧壁安装有液压缸,两组所述立板之间安装有安装框,所述安装框的内部分别设有放标签轮、回收轮、两组张紧轮和贴标凸轮,所述张紧轮的一侧设有安装于立板内壁的剥离刀片,结构简单,自动化程度高,通过将植物果肉包装品通过定位皮带进行输送和贴标的准确定位,液压缸带动定位框相对进行移动,可满足对于不同包装盒规格的调节,输送稳定性高,大大提高了生产效率。


