授权公布号:CN207873433U
一种焊接固定装置
失效
申请
2018-01-30
申请公布
1970-01-01
授权
2018-09-18
预估到期
2028-01-30
| 申请号 | CN201820151833.1 |
| 申请日 | 2018-01-30 |
| 授权公布号 | CN207873433U |
| 授权公告日 | 2018-09-18 |
| 分类号 | B23K26/70;B23K26/21;B23K37/04 |
| 分类 | 机床;不包含在其他类目中的金属加工; |
| 申请人名称 | 惠州阜东五金有限公司 |
| 申请人地址 | 广东省惠州市仲恺开发区平南工业区和畅西路28号 |
专利法律状态
2018-09-18
授权
状态信息
授权
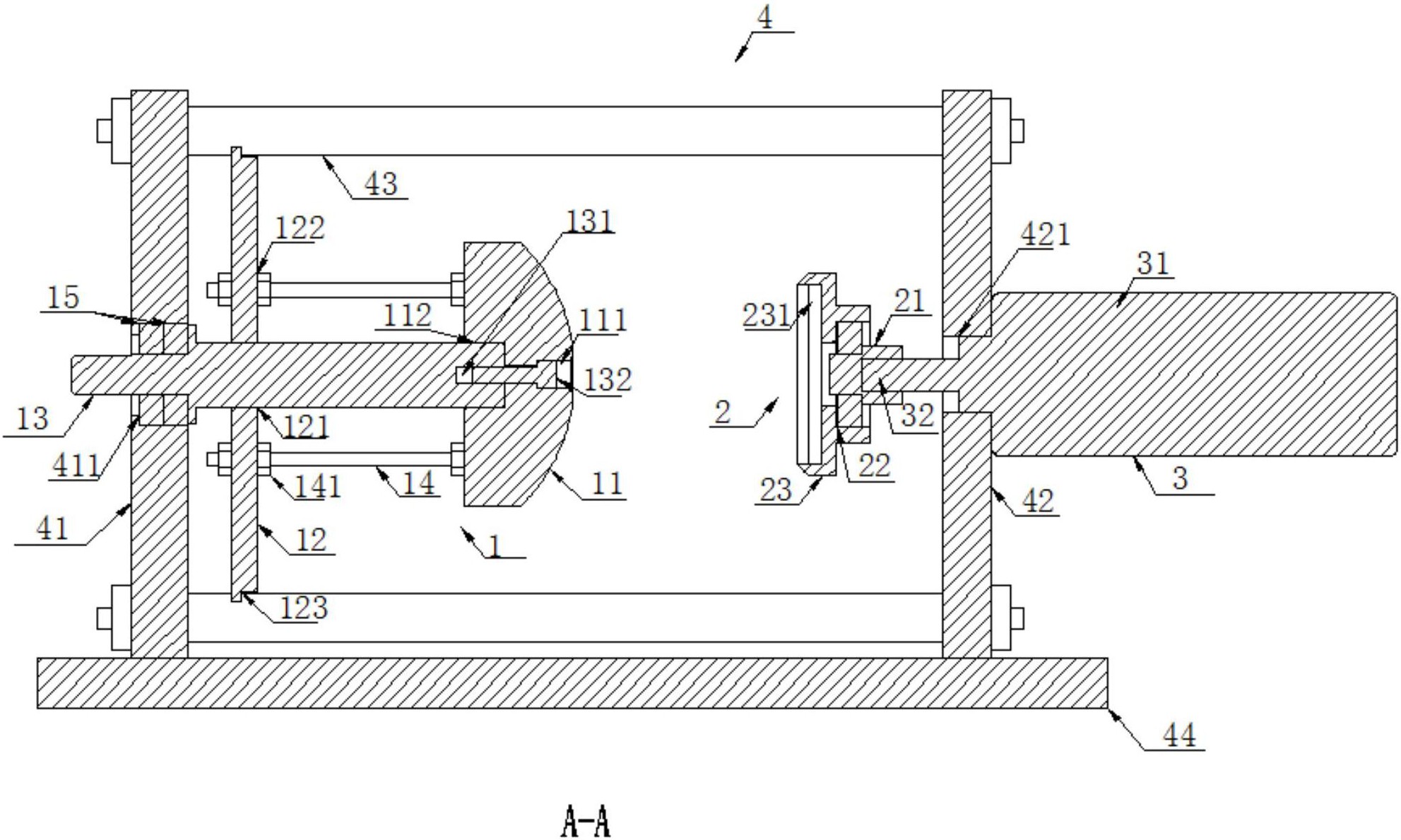
摘要
本实用新型公开了一种焊接固定装置,用于固定搅拌碗碗身与碗座以进行焊接,包括:碗身固定组件,用于固定搅拌碗碗身,使碗身底部朝向碗座方向设置;碗座固定组件,用于固定搅拌碗碗座,且碗身固定组件与碗座固定组件同轴心设置,以使碗身与碗座保持同轴心位置以进行焊接;气缸,连接于碗座固定组件远离碗身固定组件的一侧,用于推动碗座固定组件沿其轴心方向移动以使碗身和碗座接触从而进行焊接。本实用新型提供的焊接固定装置能够保证搅拌碗碗身和碗座在焊接过程中的同心度。


