授权公布号:CN212006413U
一种香椿冷冻用存储箱
有效
申请
2020-03-19
申请公布
1970-01-01
授权
2020-11-24
预估到期
2030-03-19
| 申请号 | CN202020352602.4 |
| 申请日 | 2020-03-19 |
| 授权公布号 | CN212006413U |
| 授权公告日 | 2020-11-24 |
| 分类号 | F25D23/06;F25D23/02;F25D23/00;A23B7/015 |
| 分类 | 制冷或冷却;加热和制冷的联合系统;热泵系统;冰的制造或储存;气体的液化或固化; |
| 申请人名称 | 河南九棵树农业发展有限公司 |
| 申请人地址 | 河南省漯河市临颍县城南5公里107国道西侧香椿示范园 |
专利法律状态
2020-11-24
授权
状态信息
授权
摘要
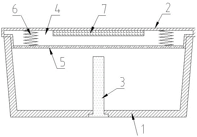
本实用新型公开了一种香椿冷冻用存储箱,包括箱体、箱盖、传导板、容置腔、透明缓冲板、弹簧和灭菌灯,其中,箱体顶端设置有箱盖,箱体内部设置有传导板,传导板截面为倒T字型结构,传导板底部的横板嵌设在箱体的底板上,且传导板的底面与箱体的底面平齐,箱盖内部设置有底面开口的容置腔,容置腔顶壁上固定设置有弹簧,弹簧的另一端固定连接有透明缓冲板,容置腔内设置有灭菌灯;总的,本实用新型具有冷冻快速均匀、对香椿芽提供有效保护的优点。


