授权公布号:CN215139134U
一种用于生产阿洛酮糖的装置
有效
申请
2021-07-01
申请公布
1970-01-01
授权
2021-12-14
预估到期
2031-07-01
| 申请号 | CN202121516646.7 |
| 申请日 | 2021-07-01 |
| 授权公布号 | CN215139134U |
| 授权公告日 | 2021-12-14 |
| 分类号 | B01F7/24;B01F15/02;B01F3/22;B01F15/06;C07H3/02;C07H1/00;B65G65/46;B65G65/32 |
| 分类 | 一般的物理或化学的方法或装置; |
| 申请人名称 | 保龄宝生物股份有限公司 |
| 申请人地址 | 山东省德州市德州(禹城)国家高新技术产业开发区东外环路1号 |
专利法律状态
2021-12-14
授权
状态信息
授权
摘要
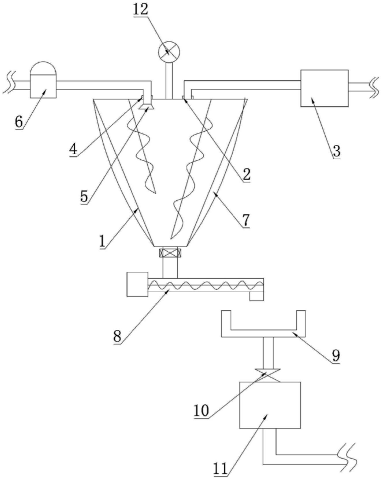
本实用新型公开了一种用于生产阿洛酮糖的装置,属于阿洛酮糖的生产技术领域,包括混料机,所述混料机的顶部连通有固体进料机构和液体进料机构;所述混料机的底部连通有绞龙,绞龙连通有振动筛,振动筛连通有磁选机,磁选机连通有料仓。本实用新型不仅适合固体物料干法生产,也适合液体物料和固体物料的混配,可以适应多种混配方式,混配的物料均匀,实现不同混配方式的高倍甜阿洛酮糖产品的大批量生产,大大提高高倍甜阿洛酮糖行业的生产水平。


