授权公布号:CN218404239U
一种生物发酵罐
有效
申请
2022-08-01
申请公布
1970-01-01
授权
2023-01-31
预估到期
2032-08-01
| 申请号 | CN202222003290.8 |
| 申请日 | 2022-08-01 |
| 授权公布号 | CN218404239U |
| 授权公告日 | 2023-01-31 |
| 分类号 | C12M1/38;C12M1/34;C12M1/04;C12M1/02;C12M1/00 |
| 分类 | 生物化学;啤酒;烈性酒;果汁酒;醋;微生物学;酶学;突变或遗传工程; |
| 申请人名称 | 保龄宝生物股份有限公司 |
| 申请人地址 | 山东省德州市禹城市禹城国家高新技术产业开发区东外环路1号 |
专利法律状态
2023-01-31
授权
状态信息
授权
摘要
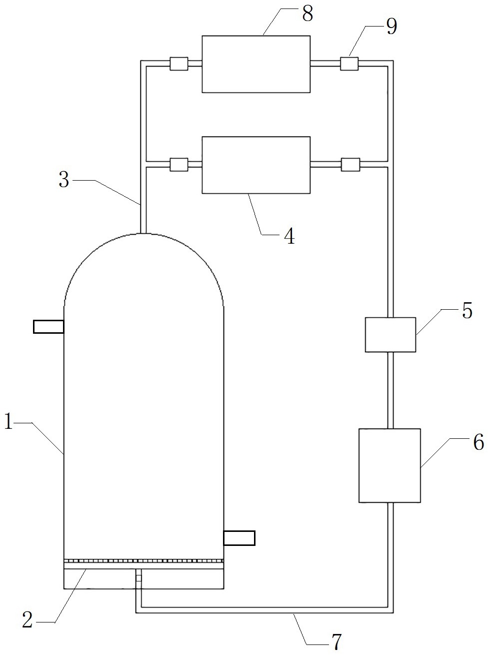
为了解决发酵过程中发酵液难以满足环境、温度,发酵效率低等问题,本实用新型提供了一种生物发酵罐,其特征在于,包括发酵罐本体、第一储气罐、换热器、气泵以及隔板,所述隔板设置于发酵罐本体下部,隔板内部设置有空腔,隔板上端面设置有若干个连通空腔和外部的通孔,下端设置有与空腔连通的进气口,所述发酵罐本体上端连接有出气管,所述出气管、第一储气罐、换热器、气泵、进气管依次相连,所述进气管与隔板进气口相连,气体流通的过程中既满足了发酵所需的气体环境和温度,同时提高发酵液的混合效果,进而提升发酵质量和效率。


