授权公布号:CN216114618U
一种智能云控纤维织物风管
有效
申请
2021-10-21
申请公布
1970-01-01
授权
2022-03-22
预估到期
2031-10-21
| 申请号 | CN202122540093.5 |
| 申请日 | 2021-10-21 |
| 授权公布号 | CN216114618U |
| 授权公告日 | 2022-03-22 |
| 分类号 | F24F13/02 |
| 分类 | 供热;炉灶;通风; |
| 申请人名称 | 米希(上海)环境技术有限公司 |
| 申请人地址 | 上海市奉贤区金齐路868号4453室 |
专利法律状态
2022-03-22
授权
状态信息
授权
摘要
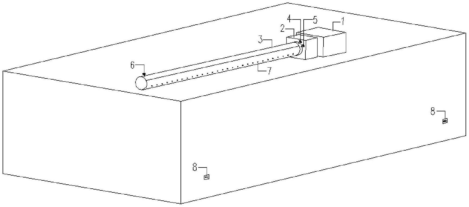
本实用新型提供一种智能云控纤维织物风管,包括安装在室内的空调箱,所述空调箱连接有静压箱,还包括由纤维织物制成的风管,所述风管表面设有若干送风孔,所述风管入口处设有4G风速测量仪和第一4G温度测量仪,所述风管末端设有4G风压测量仪,还包括设置在室内的若干个第二4G温度测量仪;还包括4G终端,所述4G风速测量仪、第一4G温度测量仪、第二4G温度测量仪和4G风压测量仪所测数据均通过4G网络传送到4G终端实现实时监测。通过4G网络可以实时将运行参数上传至云端,随时方便查询;在系统运行出现故障时,风管内运行参数会出现变化,数据会通过网络直接传输至云平台,可以直观检测到,方便维修。


