授权公布号:CN216517099U
一种新型工字胶质插条结构
有效
申请
2021-12-28
申请公布
1970-01-01
授权
2022-05-13
预估到期
2031-12-28
| 申请号 | CN202123326478.8 |
| 申请日 | 2021-12-28 |
| 授权公布号 | CN216517099U |
| 授权公告日 | 2022-05-13 |
| 分类号 | E04G25/04;F16F15/067 |
| 分类 | 建筑物; |
| 申请人名称 | 深圳市大胜得特实业发展有限公司 |
| 申请人地址 | 广东省深圳市福田区福保街道福保社区市花路14号盈福高科技厂房七层B厂房709 |
专利法律状态
2022-05-13
授权
状态信息
授权
摘要
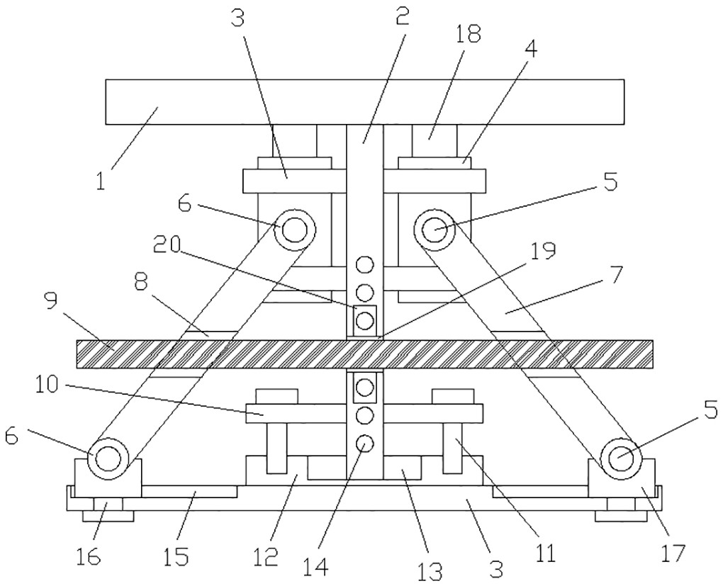
本实用新型公开了一种新型工字胶质插条结构,包括工字安装架,所述的工字安装架包括放置架、中柱和底架,所述的中柱两侧均安装有吊架,所述的吊架上安装有连接柱,所述的底架两侧对称设置有调节槽,所述的调节槽内活动设置有调节滑座,所述的连接柱和调节滑座之间安装有辅助杆,两侧所述的辅助杆穿设有限位胶条,通过辅助杆的设置使得中柱两侧得到加固,避免稳定性不足的现象,辅助杆被调节滑座固定位置后,通过限位胶条贯穿插入所述的孔槽内,且中部通过等高的定位扣板固定限位胶条的位置,实现稳固作用,提高工字安装架的整体稳定性和承托、支撑能力,适合各种工程安装应用。


