授权公布号:CN212554729U
一种酚醛泡沫干法发泡制备装置
有效
申请
2020-06-23
申请公布
1970-01-01
授权
2021-02-19
预估到期
2030-06-23
| 申请号 | CN202021171739.6 |
| 申请日 | 2020-06-23 |
| 授权公布号 | CN212554729U |
| 授权公告日 | 2021-02-19 |
| 分类号 | B29C44/34; |
| 分类 | 塑料的加工;一般处于塑性状态物质的加工; |
| 申请人名称 | 浙江中创科技有限公司 |
| 申请人地址 | 浙江省湖州市南浔区菱湖镇工业功能区吉友路1号 |
专利法律状态
2021-02-19
授权
状态信息
授权
摘要
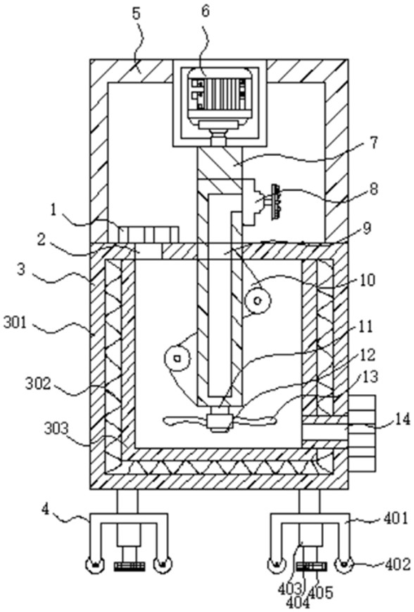
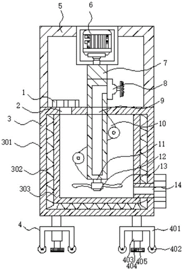
本实用新型公开了一种酚醛泡沫干法发泡制备装置,属于酚醛泡沫制备装置技术领域,包括机体,所述机体底部安装有移动装置,所述移动装置包括U形架、自锁万向轮、电动伸缩杆、支脚和橡胶层,所述U形架底部两侧均可拆卸安装有自锁万向轮,所述U形架底部中间安装有电动伸缩杆,所述电动伸缩杆底部与支脚连接,所述支脚底部粘接有橡胶层且橡胶层表面开设有防滑凸点,所述机体内部安装有搅拌轴,本实用新型酚醛泡沫干法发泡制备装置制备酚醛泡沫十分均匀细腻,粉碎、搅拌二合一,提高酚醛泡沫的制备效率,提高酚醛泡沫的制备质量,本实用新型酚醛泡沫干法发泡制备装置便于移动和运输。


