授权公布号:CN215430969U
一种铝型材拉弯装置
有效
申请
2021-06-18
申请公布
1970-01-01
授权
2022-01-07
预估到期
2031-06-18
| 申请号 | CN202121371294.0 |
| 申请日 | 2021-06-18 |
| 授权公布号 | CN215430969U |
| 授权公告日 | 2022-01-07 |
| 分类号 | B21D7/025;B21D43/10 |
| 分类 | 基本上无切削的金属机械加工;金属冲压; |
| 申请人名称 | 天鹅铝业有限公司 |
| 申请人地址 | 河南省焦作市沁阳市产业集聚区沁南产业园区(南环路东段) |
专利法律状态
2022-01-07
授权
状态信息
授权
摘要
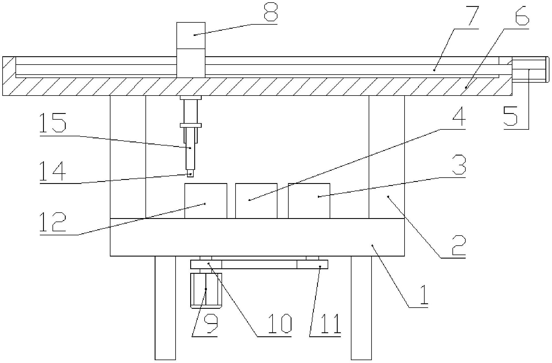
本实用新型属于铝型材加工设备技术领域,尤其涉及一种铝型材拉弯装置,包括工作台,工作台上中部设有折弯装置,工作台上方设有上料装置,上料装置包括两个第一支撑杆和两个第二支撑杆,第一支撑杆顶端设有第一横梁,第二支撑杆顶端设有第二横梁,第一横梁和第二横梁上均设有第一滑槽,第一滑槽内转动连接有第一丝杠,第一丝杠上螺纹连接有第一滑块,第一滑块顶端连接有支撑杆,支撑杆上设有第二滑槽,第二滑槽内转动连接有第二丝杠,第二丝杠上螺纹连接有第二滑块。本实用新型结构简单,操作方便,通过设置上料装置,方便将型材的取放,减少人工劳动量,避免安全隐患的发生。


