授权公布号:CN216184689U
一种车用可调节式充气坐垫
有效
申请
2021-10-21
申请公布
1970-01-01
授权
2022-04-05
预估到期
2031-10-21
| 申请号 | CN202122544550.8 |
| 申请日 | 2021-10-21 |
| 授权公布号 | CN216184689U |
| 授权公告日 | 2022-04-05 |
| 分类号 | B60N2/90;B60N2/62;B60N2/64;B60N2/66;B60N2/80 |
| 分类 | 一般车辆; |
| 申请人名称 | 河南尼罗河实业有限公司 |
| 申请人地址 | 河南省焦作市武陟县产业集聚区 |
专利法律状态
2022-04-05
授权
状态信息
授权
摘要
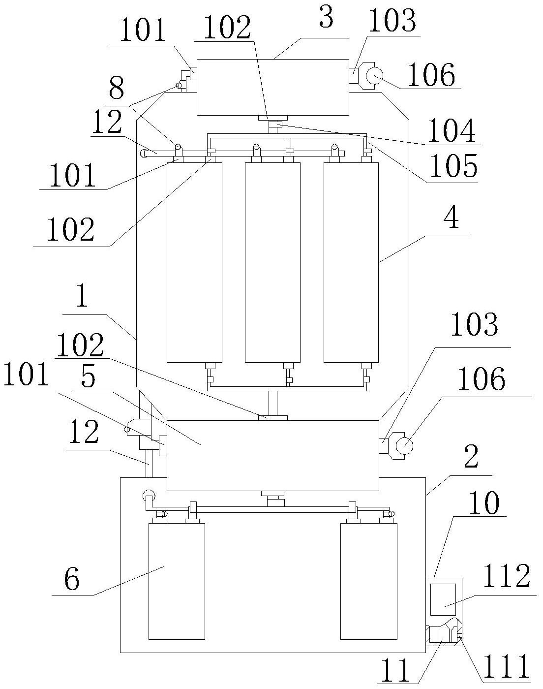
本新型涉及一种车用可调节式充气坐垫,包括弹性背板、弹性底板、颈部承载气囊、背部承载气囊、腰部承载气囊、腿部承载气囊、多通控制阀、调压控制阀、增压气泵,弹性背板、弹性底板间相互连接,弹性背板前端面颈部承载气囊和背部承载气囊间通过连接机构连接,腰部承载气囊位分别与弹性背板、弹性底板连接,腿部承载气囊弹性底板上端面连接,增压气泵和多通控制阀均与弹性底板下端面连接。本新型一方面集成化、模块化程度高,可有效满足多种车辆座椅配套使用的需要;另一方面在使用中可通过气压调节,有效的对人体进行支撑防护,另可通过设置的按摩球对人体颈部、背部、腰部、腿部进行按摩作业,从而进一步提高人体长时间坐姿时的舒适性。


