授权公布号:CN218458308U
按摩器
有效
申请
2022-06-15
申请公布
1970-01-01
授权
2023-02-10
预估到期
2032-06-15
| 申请号 | CN202221486480.3 |
| 申请日 | 2022-06-15 |
| 授权公布号 | CN218458308U |
| 授权公告日 | 2023-02-10 |
| 分类号 | A61H7/00 |
| 分类 | 医学或兽医学;卫生学; |
| 申请人名称 | 深圳市司沃康科技有限公司 |
| 申请人地址 | 广东省深圳市龙华区龙华街道清华社区清龙路6号港之龙科技园H栋2层 |
专利法律状态
2023-02-10
授权
状态信息
授权
摘要
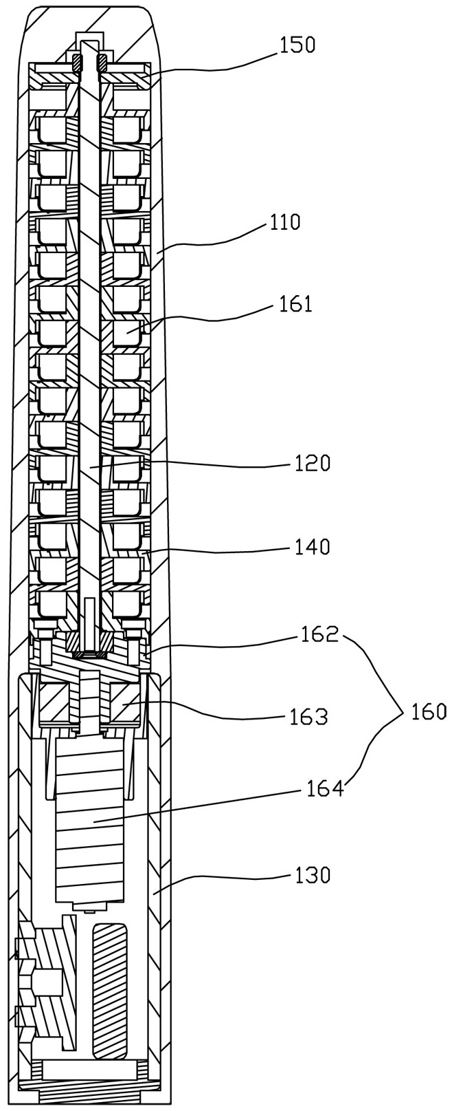
本实用新型涉及按摩器技术领域,具体指一种按摩器,其包括柔性护套、具有两端的导杆、手柄、多个蠕动件、限位组件和驱动组件,所述多个蠕动件可转动地套接在所述导杆上,所述手柄连接所述导杆的一端,所述限位组件连接所述导杆的另一端;所述柔性护套至少包覆所述多个蠕动件,所述蠕动件与蠕动件之间设有动力传导结构,所述驱动组件位于所述手柄的一端并可驱动相邻的蠕动件转动,所述动力传导结构能在蠕动件转动预设角度后将动力传输至相邻的蠕动件,直至若干所述蠕动件在所述限位组件限定的范围内转动。本实用新型结构合理,传动片、蠕动件和抵压片之间依次传动连接,即使部分蠕动件因卡死而不能旋转时,其他蠕动件也可以正常旋转。


