授权公布号:CN105166311B
一种冰淇淋贩卖机的自动接料出货装置
有效
申请
2015-10-23
申请公布
2015-12-23
授权
2020-05-19
预估到期
2035-10-23
| 申请号 | CN201510700046.9 |
| 申请日 | 2015-10-23 |
| 申请公布号 | CN105166311A |
| 申请公布日 | 2015-12-23 |
| 授权公布号 | CN105166311B |
| 授权公告日 | 2020-05-19 |
| 分类号 | A23G9/22 |
| 分类 | 其他类不包含的食品或食料;及其处理; |
| 申请人名称 | 广州市广绅电器制造有限公司 |
| 申请人地址 | 广东省广州市番禺区石基镇市新路新水坑路段20号 |
专利法律状态
2020-05-19
授权
状态信息
授权
2016-02-17
著录事项变更
状态信息
著录事项变更;IPC(主分类):A23G9/22;变更事项:申请人;变更前:广绅电器湖北有限公司;变更后:湖北广绅电器股份有限公司;变更事项:地址;变更前:437000 湖北省咸宁市咸安经济开发区凤凰工业园凤凰西路;变更后:437000 湖北省咸宁市咸安经济开发区凤凰工业园凤凰西路
2016-02-17
专利申请权、专利权的转移
状态信息
专利申请权的转移;IPC(主分类):A23G9/22;登记生效日:20160122;变更事项:申请人;变更前:湖北广绅电器股份有限公司;变更后:广州市广绅电器制造有限公司;变更事项:地址;变更前:437000 湖北省咸宁市咸安经济开发区凤凰工业园凤凰西路;变更后:510000 广东省广州市番禺区石基镇市新路新水坑路段20号
2016-01-20
实质审查的生效
状态信息
实质审查的生效;IPC(主分类):A23G9/22;申请日:20151023
2015-12-23
公布
状态信息
公布
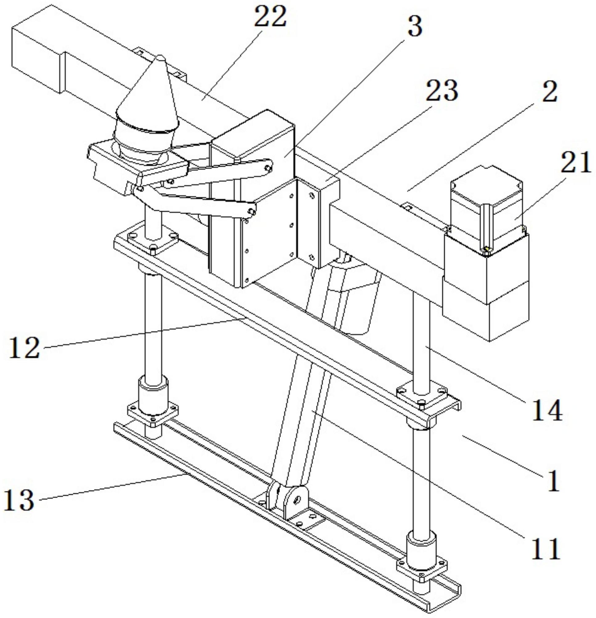
摘要
本发明提供了一种冰淇淋贩卖机的自动接料出货装置,设置在杯筒供应装置和冰淇淋制作装置之间,其包括升降支架机构、水平输送机构以及接料出货机构;所述升降支架机构安装在冰淇淋贩卖机的机体上;所述水平输送机构安装在所述升降支架机构上并由所述升降支架机构带动上下运动;所述接料出货机构安装在所述水平输送机构上并由所述水平输送机构带动左右运动,接料时,所述接料出货机构可将杯筒竖直放置在出料口下方,出货时,所述接料出货机构可将杯筒朝冰淇淋贩卖机的机体内部方向倾斜放置并伸至出货口。采用本发明,能够解决传统冰淇淋贩卖机必须依赖人工手持杯筒承接冰淇淋的问题。


