授权公布号:CN209441329U
雨刷及其接头
有效
申请
2018-11-19
申请公布
1970-01-01
授权
2019-09-27
预估到期
2028-11-19
| 申请号 | CN201821906161.7 |
| 申请日 | 2018-11-19 |
| 授权公布号 | CN209441329U |
| 授权公告日 | 2019-09-27 |
| 分类号 | B60S1/40 |
| 分类 | 一般车辆; |
| 申请人名称 | 东莞山多力汽车配件有限公司 |
| 申请人地址 | 广东省东莞市企石镇永发工业区 |
专利法律状态
2019-09-27
授权
状态信息
授权
摘要
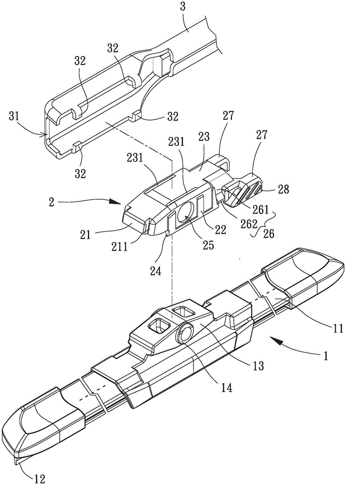
一种雨刷及其接头,用以解决现有的雨刷组件更换不便的问题,其包括:一个雨刷,具有一个本体及一个刷片,该本体的中央具有一个结合部;及一个接头,具有一个抵片及两个侧壁,该抵片位于该接头的一端,该两个侧壁通过一个顶部相连接,且该两个侧壁的中间形成开放的一个容置空间,该容置空间可供该结合部容置,该两个侧壁的底部各具有一个凸出于该两个侧壁表面的止挡部,该两个侧壁还各具有一个扣合部及与该扣合部相连接的一个翼部,两个翼部成分离的未相连接。


