授权公布号:CN211341166U
一种高度可调的新型活动房
有效
申请
2019-12-07
申请公布
1970-01-01
授权
2020-08-25
预估到期
2029-12-07
| 申请号 | CN201922176763.2 |
| 申请日 | 2019-12-07 |
| 授权公布号 | CN211341166U |
| 授权公告日 | 2020-08-25 |
| 分类号 | E04B1/343 |
| 分类 | 建筑物; |
| 申请人名称 | 中辉绿建集装箱有限公司 |
| 申请人地址 | 广东省广州市南沙区珠江管理区发展路一巷3号二层262房 |
专利法律状态
2020-08-25
授权
状态信息
授权
摘要
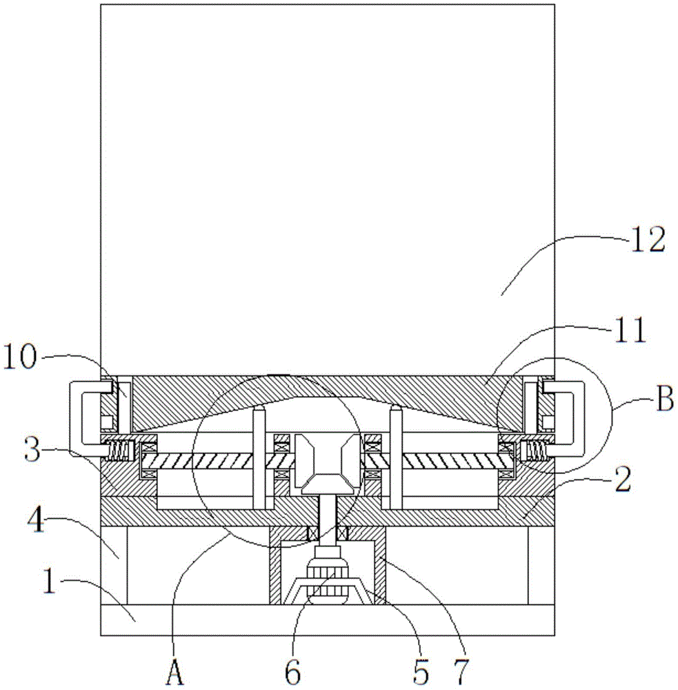
本实用新型涉及活动房技术领域,且公开了一种高度可调的新型活动房,包括底板、第一支撑板、承重板和基座,所述第一支撑板的下表面四个拐角处分别通过支撑柱与底板的上表面固定连接,所述底板的上表面中心处通过固定架固定设有电机,所述电机的外部固定设有防护罩,所述电机的输出轴固定连接有转杆,所述第一支撑板的内部中心处竖直开设有通孔,所述转杆的上端杆壁通过密封轴承与防护罩转动连接,且贯穿防护罩并通过通孔延伸至第一支撑板的上表面,所述转杆的杆壁与通孔活动套接,所述转杆的上端固定设有第一锥齿轮,所述基座固定设置于第一支撑板的上表面。本实用新型简化了活动房的高度调节过程,提高了工作效率。


