授权公布号:CN212153719U
一种铝蜂窝活动板房
有效
申请
2019-12-07
申请公布
1970-01-01
授权
2020-12-15
预估到期
2029-12-07
| 申请号 | CN201922189451.5 |
| 申请日 | 2019-12-07 |
| 授权公布号 | CN212153719U |
| 授权公告日 | 2020-12-15 |
| 分类号 | E04B1/343 |
| 分类 | 建筑物; |
| 申请人名称 | 中辉绿建集装箱有限公司 |
| 申请人地址 | 广东省广州市南沙区珠江管理区发展路一巷3号二层262房 |
专利法律状态
2020-12-15
授权
状态信息
授权
摘要
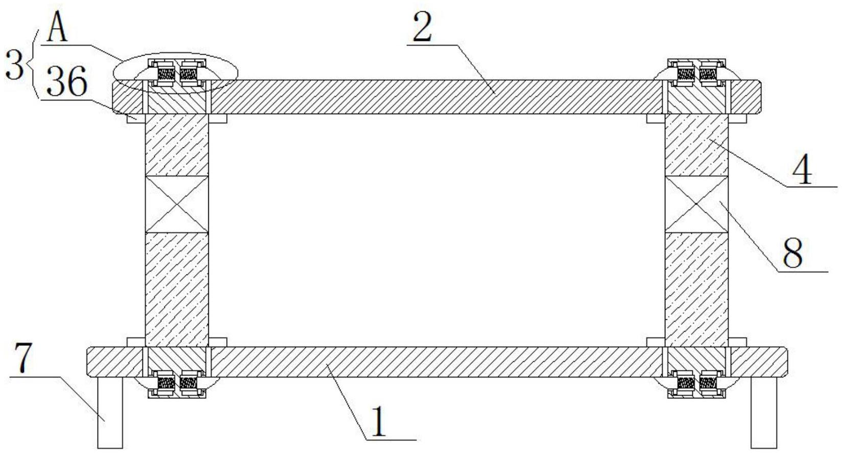
本实用新型涉及活动板房技术领域,且公开了一种铝蜂窝活动板房,包括底板和顶板,顶板位于底板的正上方,顶板和底板之间通过两个连接机构共同连接有侧板;连接机构包括连接孔、连接块、两个连接槽、两个弹簧、两块卡块和两块限位块,连接孔开设在对应的底板和顶板上,连接块固定连接在对应的顶板和底板上,连接块插设在连接孔内,两个连接槽对称开设在连接块的相背侧壁上,弹簧固定连接在连接槽的槽底上,弹簧的另一端与连接块固定连接,连接块穿过连接槽的槽口并向外延伸,且与对应的底板和顶板相抵,两块限位块对称固定连接在侧板上,且限位块与底板和顶板相抵。本实用新型相对现有技术便于活动板房的组装。


