授权公布号:CN214497897U
一种屋脊钢梁连接件
有效
申请
2021-03-02
申请公布
1970-01-01
授权
2021-10-26
预估到期
2031-03-02
| 申请号 | CN202120453369.3 |
| 申请日 | 2021-03-02 |
| 授权公布号 | CN214497897U |
| 授权公告日 | 2021-10-26 |
| 分类号 | E04B1/58;E04B1/24 |
| 分类 | 建筑物; |
| 申请人名称 | 北京东方广厦模块化房屋有限公司 |
| 申请人地址 | 北京市通州区砖厂南里47号楼华远好天地B座211 |
专利法律状态
2021-10-26
授权
状态信息
授权
摘要
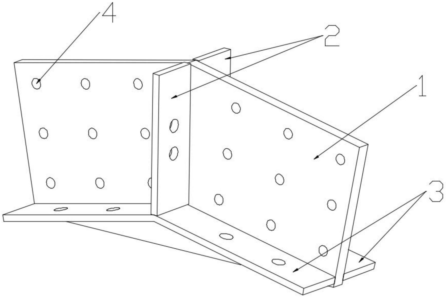
本实用新型提供了一种屋脊钢梁连接件,该屋脊连接件包括相互焊接连接而成的第一连接板、第二连接板和第三连接板,两个第二连接板或两个第三连接板对称固定在第一连接板的两侧,使该屋脊连接件呈轴对称结构,各个板之间相互焊接连接使结构更加稳定,第一连接板的顶端设有第一斜边和第二斜边,使该连接件连接两个钢梁后,两个钢梁之间呈一定角度,第三连接板一侧与第一斜边相互平行,第三连接板的另一侧与第二斜边相互平行,使第一连接板与钢梁固定连接后,第三连接板对钢梁进一步固定,使整个结构更加稳定,第一连接板、第二连接板和第三连接板上均设有通孔,用于连接螺栓,该屋脊连接件在能够保证屋脊结构稳定的同时,更便于拆卸。


