授权公布号:CN214614578U
一种装配式柱脚板
有效
申请
2021-02-02
申请公布
1970-01-01
授权
2021-11-05
预估到期
2031-02-02
| 申请号 | CN202120294754.8 |
| 申请日 | 2021-02-02 |
| 授权公布号 | CN214614578U |
| 授权公告日 | 2021-11-05 |
| 分类号 | E04B1/24;E04B1/58;E04C3/32 |
| 分类 | 建筑物; |
| 申请人名称 | 北京东方广厦模块化房屋有限公司 |
| 申请人地址 | 北京市通州区砖厂南里47号楼华远好天地B座211 |
专利法律状态
2021-11-05
授权
状态信息
授权
摘要
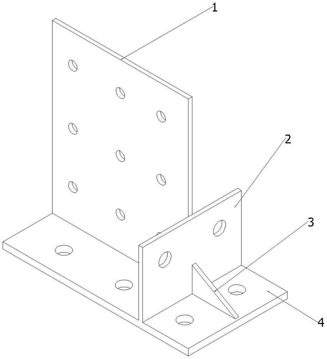
本实用新型提供了一种装配式柱脚板,包括柱脚底板、柱脚立板、柱脚挡板和加强肋,所述柱脚立板、所述柱脚挡板和所述加强肋均与所述柱脚底板垂直固定连接,所述柱脚挡板的一侧与所述柱脚立板垂直固定连接,所述柱脚挡板的另一侧与所述加强肋垂直固定连接。本实用新型通过柱脚底板与柱脚立板和柱脚挡板之间的相互垂直固定,形成双“T”形结构,从X和Y两个方向维度通过高强螺栓的连接固定立柱,保证其稳定性。刚性的柱脚连接从而减小梁、柱的整体受力。柱脚挡板与柱脚底板与立柱其宽,即可节省空间,外观更整齐,同时,工人现场安装方便核查立柱的水平高度及竖向垂直度。整个柱脚板均在工厂流水作业焊接好成品,到现场无需动火。


