授权公布号:CN216109119U
一种建筑施工用钢结构抗震基座
有效
申请
2021-11-10
申请公布
1970-01-01
授权
2022-03-22
预估到期
2031-11-10
| 申请号 | CN202122748001.2 |
| 申请日 | 2021-11-10 |
| 授权公布号 | CN216109119U |
| 授权公告日 | 2022-03-22 |
| 分类号 | E04B1/98;E04B1/36;E04H9/02 |
| 分类 | 建筑物; |
| 申请人名称 | 潍坊亨利达钢结构有限公司 |
| 申请人地址 | 山东省潍坊市昌乐县朱刘工业园(309国道南侧) |
专利法律状态
2022-03-22
授权
状态信息
授权
摘要
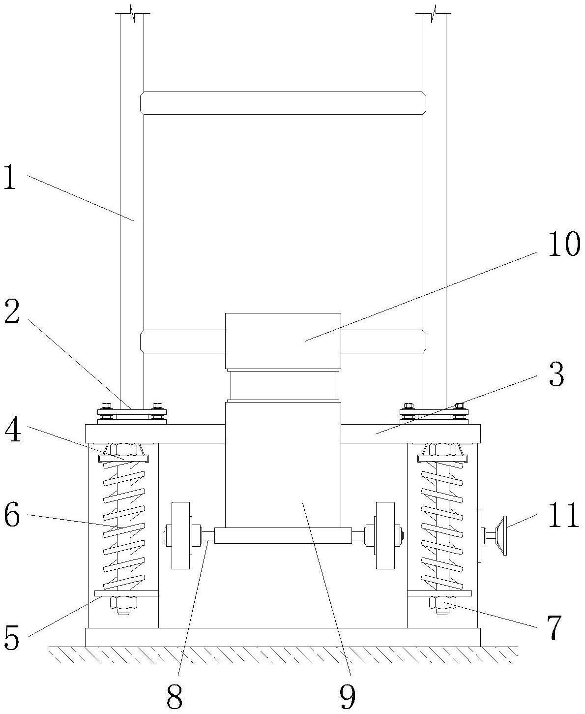
本实用新型公开了一种建筑施工用钢结构抗震基座,包括钢构件、转动轴座、手轮和纵向滑杆,所述钢构件下端通过固定座与金属基座相互连接,且金属基座的侧面焊接固定有支撑柱,所述固定片的上端安装有减震弹簧,且减震弹簧套设在支撑柱的外部,所述转动轴座对称安装在金属基座的前后两侧,且转动轴座的外部安装有侧边板,所述手轮转动安装在金属基座的外侧面,所述纵向滑杆贯穿设置在金属基座的上表面中间位置,且纵向滑杆的上表面焊接固定有顶部加固板,所述调节板的内侧面固定连接有卡合片。该建筑施工用钢结构抗震基座,便于对抗震效果进行调节,并且基座设置有加固衔接机构,可以提高钢构件安装应用的稳定性。


