授权公布号:CN220109413U
一种便于调平的集装箱厨房结构
有效
申请
2023-06-27
申请公布
1970-01-01
授权
2023-12-01
预估到期
2033-06-27
| 申请号 | CN202321641587.5 |
| 申请日 | 2023-06-27 |
| 授权公布号 | CN220109413U |
| 授权公告日 | 2023-12-01 |
| 分类号 | A47B91/16;E04H1/12;E04B1/343;A47B96/00;A47B97/00 |
| 分类 | 家具;家庭用的物品或设备;咖啡磨;香料磨;一般吸尘器; |
| 申请人名称 | 北京集酷文化股份有限公司 |
| 申请人地址 | 北京市顺义区赵全营镇兆丰产业基地园盈路7号 |
专利法律状态
2023-12-01
授权
状态信息
授权
摘要
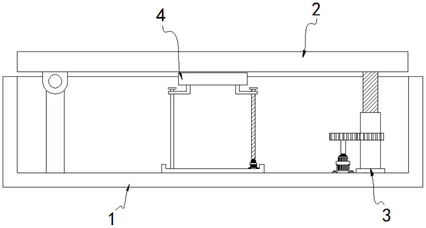
本实用新型涉及一种便于调平的集装箱厨房结构,包括集装箱,所述集装箱的上方设有放置台,所述集装箱上设有调平机构,所述集装箱上设有辅助机构,所述调平机构包括驱动电机,所述驱动电机固定安装在所述集装箱内顶壁的右侧,所述驱动电机的输出轴固定有转动杆,所述转动杆的顶端固定有主动齿轮,所述调平机构包括通过轴承与所述集装箱内顶壁右侧转动连接的螺纹套,所述螺纹套外表面的中间位置固定有从动齿轮,所述螺纹套的内壁上螺纹连接有螺纹杆,所述调平机构还包括固定在所述放置台底面左侧的铰接架。通过驱动电机可带动螺纹套装,螺纹套在转动的过程中可使螺纹杆上下移动,从而对放置台进行调平处理,以适应地面不平整的情况。


