授权公布号:CN208766623U
鼠标垫
有效
申请
2018-09-26
申请公布
1970-01-01
授权
2019-04-19
预估到期
2028-09-26
| 申请号 | CN201821574423.4 |
| 申请日 | 2018-09-26 |
| 授权公布号 | CN208766623U |
| 授权公告日 | 2019-04-19 |
| 分类号 | G06F3/039 |
| 分类 | 计算;推算;计数; |
| 申请人名称 | 宜客莱(上海)电脑科技有限公司 |
| 申请人地址 | 上海市青浦区北青公路9138号1憧3层C区354室 |
专利法律状态
2019-04-19
授权
状态信息
授权
摘要
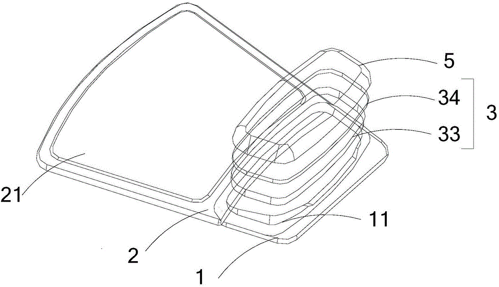
本申请公开了一种鼠标垫。解决了鼠标垫的护腕部高度不可调节的技术问题。该鼠标垫包括:第一垫体(1)、增高部(3)和护腕部(5),所述第一垫体(1)上设有第一卡槽(11),所述增高部(3)与所述第一卡槽(11)卡接,所述护腕部(5)放置在所述增高部(3)的上部。在本申请的技术方案中,用户根据自己的使用情况,可随意调节鼠标垫的护腕高度满足自身需求,用户也可将鼠标滑动部与护腕部拆开使用,实用性强。


