授权公布号:CN219482932U
一种纯聚酯耐候粉末涂料用细粉装置
有效
申请
2022-12-20
申请公布
1970-01-01
授权
2023-08-08
预估到期
2032-12-20
| 申请号 | CN202223425839.9 |
| 申请日 | 2022-12-20 |
| 授权公布号 | CN219482932U |
| 授权公告日 | 2023-08-08 |
| 分类号 | B02C19/00;B02C23/14;B02C23/16;B02C4/26;B02C4/02;B02C23/02;B02C4/28 |
| 分类 | 破碎、磨粉或粉碎;谷物碾磨的预处理; |
| 申请人名称 | 江苏华光控股集团有限公司 |
| 申请人地址 | 江苏省常州市武进区遥观镇建农村 |
专利法律状态
2023-08-08
授权
状态信息
授权
摘要
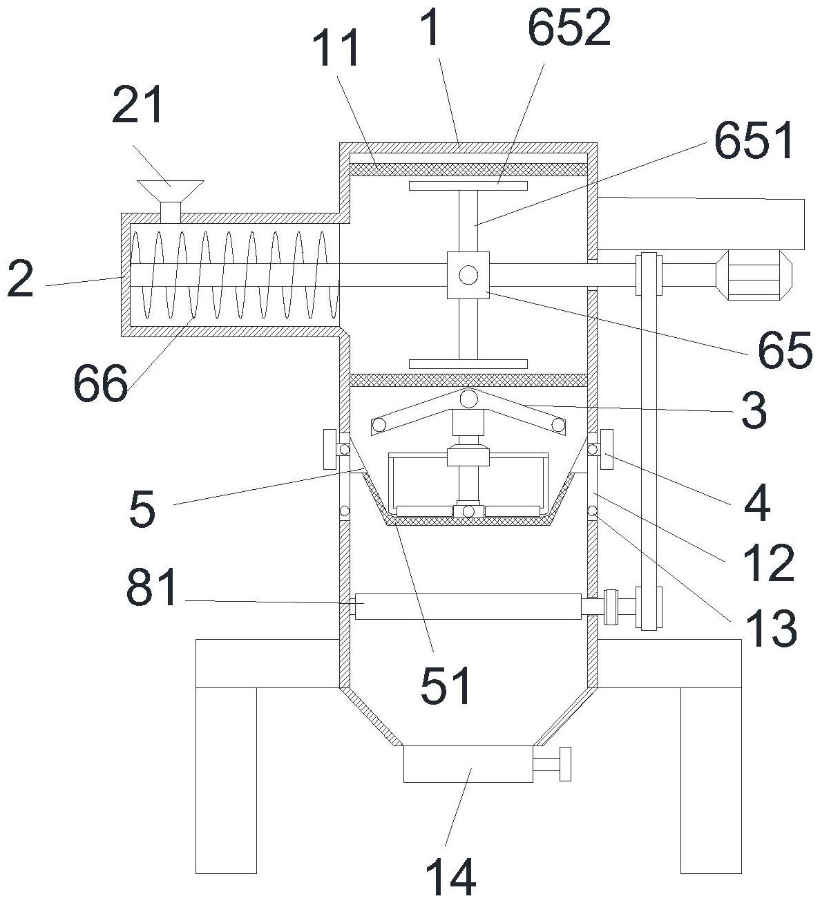
本实用新型提供一种纯聚酯耐候粉末涂料用细粉装置,包括搅拌箱,所述搅拌箱左侧外壁上端连通有送料箱,所述送料箱上端连接有进料漏斗,所述搅拌箱从上至下依次连接有第一过滤箱、导料机构、调节箱、和对称设置的粉碎辊;本实用新型通过设置的多个粉碎结构使得本装置具有彻底粉碎和便于分拣等特点。


