授权公布号:CN220126413U
一种环氧聚酯型散热器用粉末涂料粉碎装置
有效
申请
2023-01-03
申请公布
1970-01-01
授权
2023-12-05
预估到期
2033-01-03
| 申请号 | CN202320008323.X |
| 申请日 | 2023-01-03 |
| 授权公布号 | CN220126413U |
| 授权公告日 | 2023-12-05 |
| 分类号 | B02C13/18;B02C13/26;B02C13/286 |
| 分类 | 破碎、磨粉或粉碎;谷物碾磨的预处理; |
| 申请人名称 | 江苏华光控股集团有限公司 |
| 申请人地址 | 江苏省常州市武进区遥观镇建农村 |
专利法律状态
2023-12-05
授权
状态信息
授权
摘要
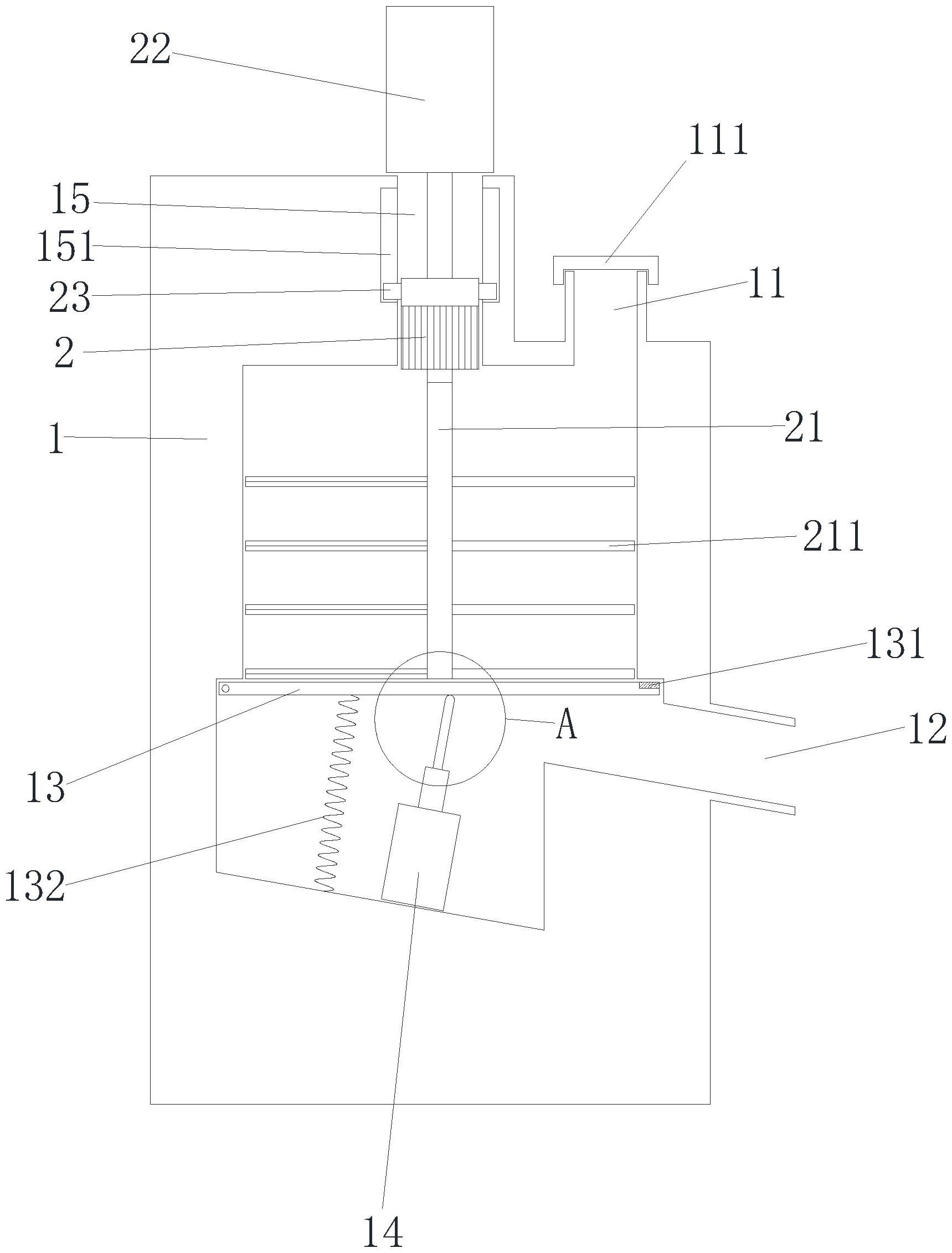
本实用新型提供了一种环氧聚酯型散热器用粉末涂料粉碎装置,包括主体和电机;所述主体设有进料口和出料口,所述主体内活动安装有底板,所述底板通过转轴与所述主体转动连接,所述主体底壁固定安装有电动推杆,所述电动推杆输出轴与所述底板活动连接,所述主体内设有安装槽,所述电机活动安装在所述安装槽内,所述电机输出轴固定安装有转轴,所述转轴外壁固定安装有多个粉碎杆,所述粉碎杆与所述主体活动连接,所述电机上端安装有电动伸缩杆,所述电动伸缩杆固定安装在所述主体上端,所述电动伸缩杆的输出轴与所述电机固定连接,本实用新型通过粉碎杆转动的同时上下移动,充分对结块的粉末涂料进行搅拌粉碎,粉碎效率高,且粉碎效果好。


