授权公布号:CN203327875U
压茶机
失效
申请
2013-05-31
申请公布
1970-01-01
授权
2013-12-11
预估到期
2023-05-31
| 申请号 | CN201320309856.8 |
| 申请日 | 2013-05-31 |
| 授权公布号 | CN203327875U |
| 授权公告日 | 2013-12-11 |
| 分类号 | A23F3/06 |
| 分类 | 其他类不包含的食品或食料;及其处理; |
| 申请人名称 | 中闽魏氏茶业股份公司 |
| 申请人地址 | 福建省泉州市安溪县龙涓乡长新村长新峰 |
专利法律状态
2023-06-16
专利权的终止
状态信息
专利权有效期届满;IPC(主分类):A23F3/06;申请日:20130531;授权公告日:20131211
2018-11-27
专利申请权、专利权的转移
状态信息
专利权的转移;IPC(主分类):A23F3/06;登记生效日:20181107;变更事项:专利权人;变更前:安溪中闽魏氏生态茶业有限公司;变更后:中闽魏氏茶业股份公司;变更事项:地址;变更前:362400 福建省泉州市安溪县龙涓乡长新村长新峰;变更后:362400 福建省泉州市安溪县龙涓乡长新村长新峰
2013-12-11
授权
状态信息
授权
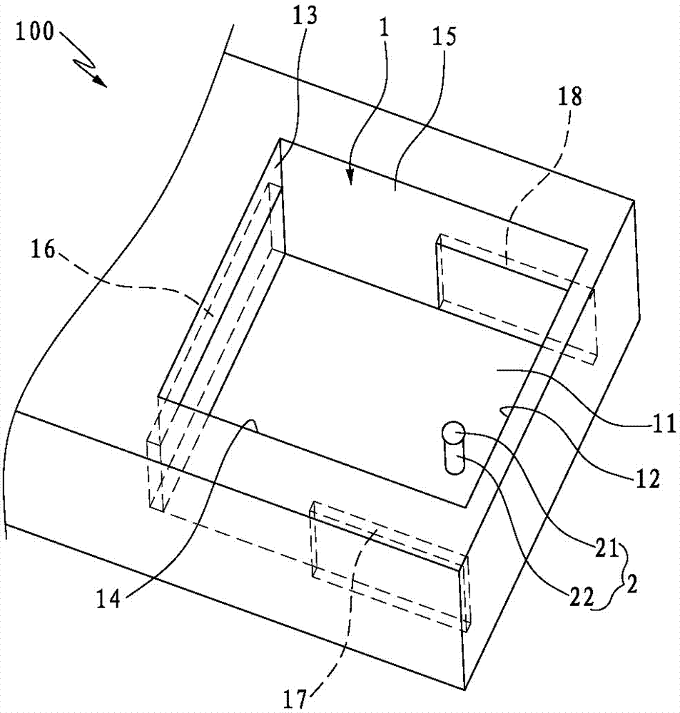
摘要
本实用新型公开了一种压茶机,该压茶机上形成一开口向上的成型槽,该成型槽由下底壁、前侧壁、后侧壁、左侧壁及右侧壁构成,该后侧壁活动设置由驱动机构驱动的向前侧壁方向移动的后挤压板,该左侧壁活动设置由驱动机构驱动的向右侧壁方向移动的左挤压板,该右侧壁活动设置由驱动机构驱动的向左侧壁方向移动的右挤压板,在该成型槽上还活动设有一盖合成型槽的上顶板;该压茶机还包含有一凸设于下底壁上的压力传感器;其具有一感测头及支杆;该支杆一端固定于下底壁,另一端固设感测头;借助上述结构,本实用新型压茶机可可保持茶叶成型的完整性及成型稳定性,且成型效率更高,生产出来的茶叶质量稳定优异。


