授权公布号:CN216754650U
一种进给式弓丝弯制装置
有效
申请
2021-09-24
申请公布
1970-01-01
授权
2022-06-17
预估到期
2031-09-24
| 申请号 | CN202122324083.8 |
| 申请日 | 2021-09-24 |
| 授权公布号 | CN216754650U |
| 授权公告日 | 2022-06-17 |
| 分类号 | A61C7/02;A61C7/20 |
| 分类 | 医学或兽医学;卫生学; |
| 申请人名称 | 广州瑞通生物科技有限公司 |
| 申请人地址 | 广东省广州市黄埔区国际生物岛螺旋三路29号四楼402房、五楼501房、502房 |
专利法律状态
2022-06-17
授权
状态信息
授权
摘要
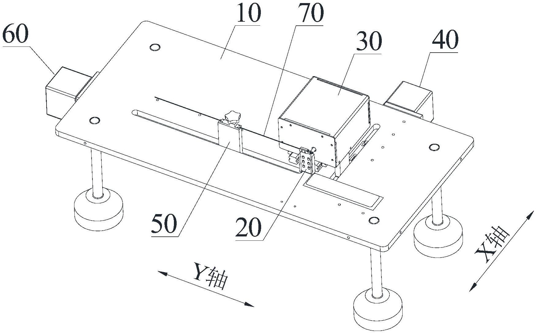
本实用新型公开了一种进给式弓丝弯制装置,包括:基座、限位机构、折弯机构以及第一直线驱动机构;限位机构固定于基座上,弓丝可活动地穿设于限位机构,弓丝的一端伸出于限位机构外;折弯机构包括有折弯头,折弯头上具有凹槽结构,弓丝的伸出端置于凹槽结构内,凹槽结构的内侧壁适于抵接弓丝的侧部,凹槽结构的宽度大于弓丝的宽度;折弯机构活动设置于基座,第一直线驱动机构连接折弯机构,并用于驱动折弯机构前后运动,以带动折弯头前后运动。本实用新型解决了现有口腔正畸矫治中采用手工弯制方式的效率低的问题,本实用新型实现了自动化弯曲弓丝,极大提高了弓丝弯制的生产效率,通过提高了弓丝弯制的精确度。


